EasyManua.ls Logo

Zoom L-12 - Page 6

Zoom L-12
47 pages
Print Icon
To Next Page IconTo Next Page
To Next Page IconTo Next Page
To Previous Page IconTo Previous Page
To Previous Page IconTo Previous Page
Loading...
6
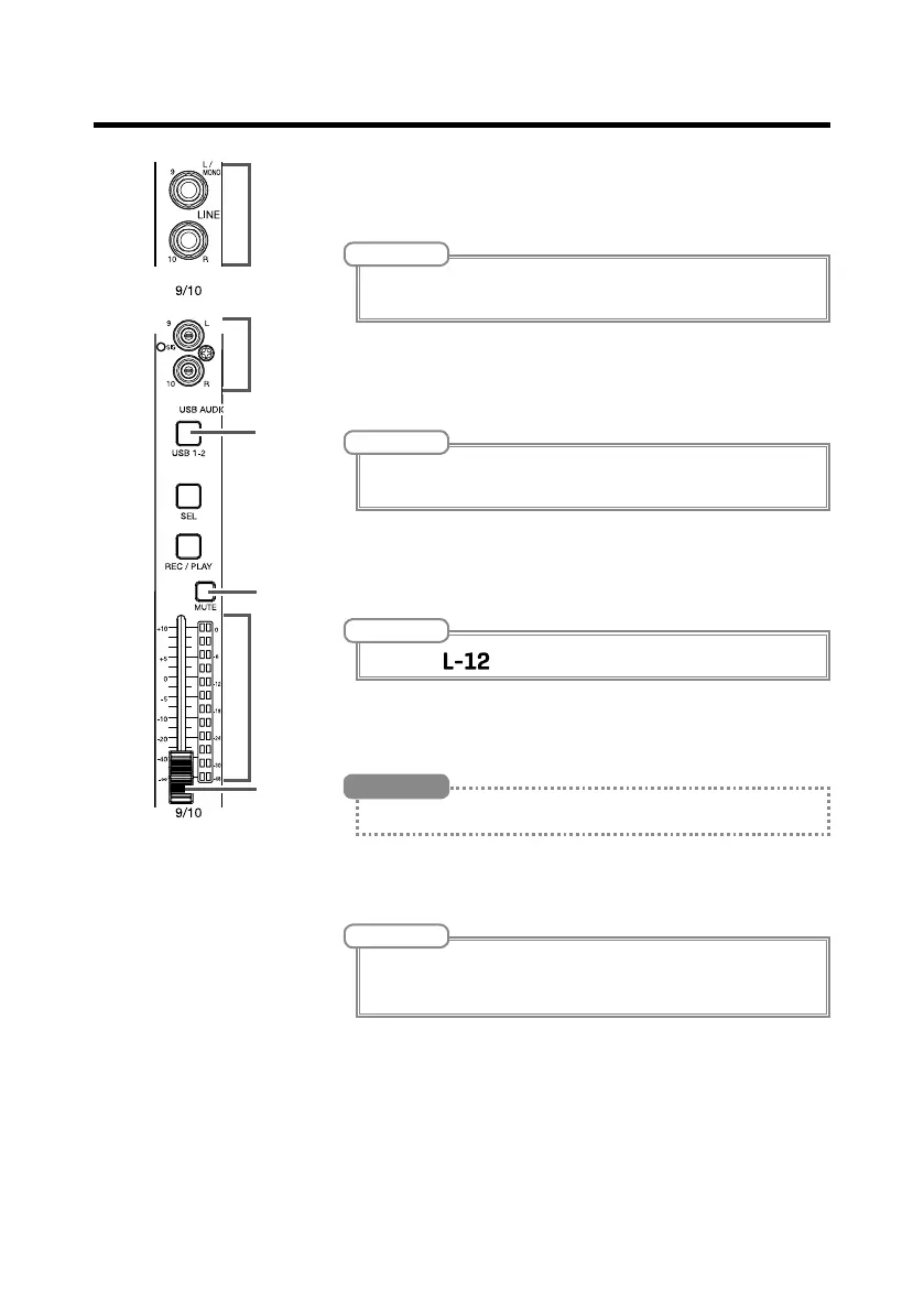
Names and functions of parts
!
LINE input jacks (TS)
Use these input jacks to connect line level equipment. For example,
connect keyboards or audio devices.
These can be used with 1/4-inch (unbalanced) phone plugs.
NOTE
If only the left LINE input jack (TS) channel is connected, it will be handled as
a mono channel.
"
LINE input jacks (RCA)
Use these input jacks to connect line level equipment. For example,
connect audio devices.
These can be used with RCA pin connectors.
NOTE
If both the RCA and TS LINE input jacks are connected, the TS input jacks
will be used.
#
USB button
This switches the signals input to channels 9/10 (or 11/12).
Lit: audio return signal output from the computer
Unlit: LINE input jacks
NOTE
Connect the to a computer as an audio interface. (
P.73)
$
MUTE button
This mutes or unmutes signals sent to the master fader.
To mute the channel, press this button to light it.
This has no effect on recording to the SD card.
HINT
%
Level meter
This shows the signal level after adjustment by the channel fader.
Ranges shown: -48 dB – 0 dB
NOTE
If the actual channel fader position differs from the channel fader position
recalled using the scene function, for example, the level meter will show the
recalled fader position.
&
Channel fader
This adjusts the channel signal level in a range from −∞ to +10 dB.

Related product manuals