EasyManua.ls Logo

ABB 266 - Enhanced-PID Function Block (E-PID)

ABB 266
92 pages
Print Icon
To Next Page IconTo Next Page
To Next Page IconTo Next Page
To Previous Page IconTo Previous Page
To Previous Page IconTo Previous Page
Loading...
2600T Series Pressure transmitters | OI/266/FF/ADD-EN Rev. B 41
Enhanced-PID function block (E-PID)
Overview
The PID block is key to many control schemes and is used almost universally, with the exception of PD, which is used when the
process itself does the integration. As long as an error exists, the PID function will integrate the error, which moves the output in a
direction to correct the error. PID blocks may be cascaded when the difference in process time constants of a primary and secondary
process measurement makes it necessary or desirable.
The PID receives in input the value produced in output from an upstream function block like Analog Input, and provides to apply the
algorithm with the Proportional, Integral, Derivative contribute as previously configured.
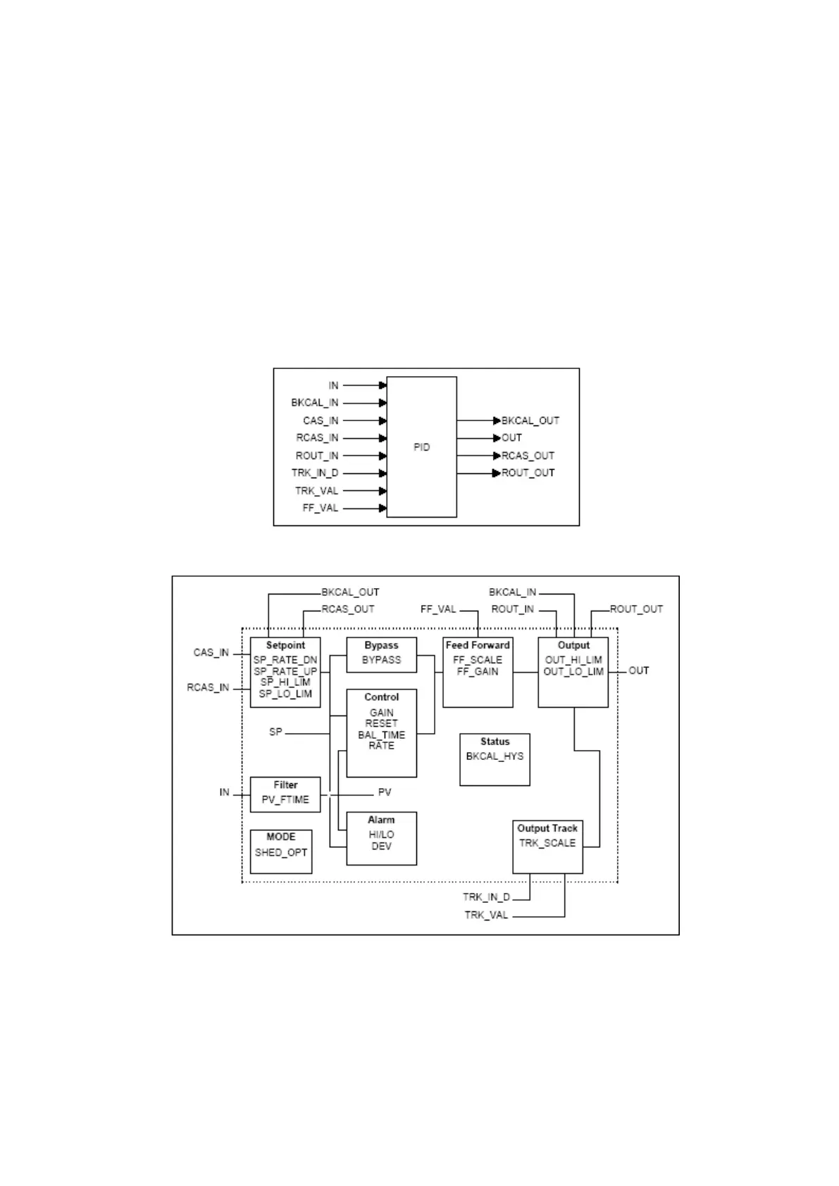
Block diagram
Description
The Process Value to be controlled is connected to the IN input. This value is passed through a filter whose time constant is
PV_FTIME. The value is then shown as the PV, which is used in conjunction with the SP in the PID algorithm. A PID will not integrate
if the limit status of IN is constant. A full PV and DV alarm sub-function is provided. The PV has a status, although it is a Contained
parameter. This status is a copy of IN’s status unless IN is good and there is a PV or block alarm. The full cascade SP sub-function is
used, with rate and absolute limits. There are additional control options which will cause the SP value to track the PV value when the
block is in an actual mode of IMan, LO, Man or ROut. Limits do not cause SP-PV tracking.
There is a switch for BYPASS, which is available to the operator if the Bypass Enable control option is true. Bypass is used in
secondary cascade controllers that have a bad PV.

Related product manuals