EasyManua.ls Logo

ABB 266 - Input Selector Function Block (IS)

ABB 266
92 pages
Print Icon
To Next Page IconTo Next Page
To Next Page IconTo Next Page
To Previous Page IconTo Previous Page
To Previous Page IconTo Previous Page
Loading...
2600T Series Pressure transmitters | OI/266/FF/ADD-EN Rev. B 53
Input selector function block (AR)
Overview
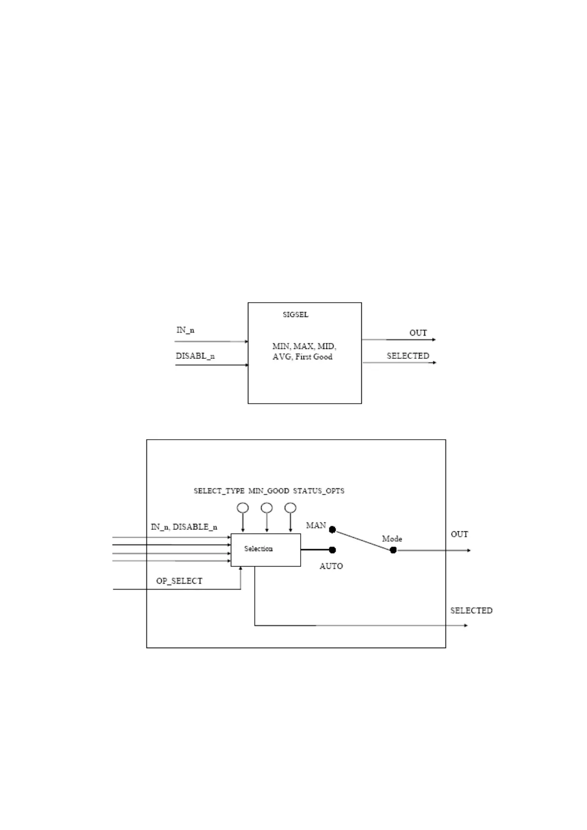
The signal selector block provides selection of up to four inputs and generates an output based on the configured action. This block
normally receives its inputs from AI blocks. The block performs maximum, minimum, middle, average and ‘first good’ signal selection.
With a combination of parameter configuration options the block can function as a rotary position switch, or a validated priority
selection based on the use of the first good parameter and the disable_n parameter. As a switch the block can receive switching
information from either the connected inputs or from an operator input. The block also supports the concept of a middle selection.
Although the normal configuration for this feature would be with three signals the block should generate an average of the middle
two if four signals are configured or the average of two if three are configured and a bad status is passed to one of the inputs. Logic
is provided for handling uncertain and bad signals in conjunction with configured actions. The intended application of this block is to
provide control signal selection in the forward path only, therefore, no back calculation support is provided. SELECTED is a second
output that indicates which input has been selected by the algorithm.
Block diagram
Description
This block is intended to be used in a forward path only and is not intended to receive signals from the output of a controller. There is no
back calculation support or propagation of control status values. The processing of the block is as follows.
Input processing
If DISABLE_n is true then don’t process (ignore) the respective input IN_n.
Process the Use Uncertain as Good status options. Discard (ignore) inputs whose status is BAD.
If there are no inputs left, or fewer than MIN_GOOD inputs, then set the value of SELECTED to zero. Do not do selection processing.
Selection Processing
If OP_SELECT is non-zero, the OP_SELECT value shall determine the selected input, regardless of the SELECT_TYPE selection. Set
SELECTED to the number of the input used. If SELECT_TYPE is First Good, transfer the value of the first remaining input to the output
of the block. Set SELECTED to the number of the input used.

Related product manuals