EasyManua.ls Logo

ABB 266 - Control Selector Function Block (CS)

ABB 266
92 pages
Print Icon
To Next Page IconTo Next Page
To Next Page IconTo Next Page
To Previous Page IconTo Previous Page
To Previous Page IconTo Previous Page
Loading...
58 OI/266/FF/ADD-EN Rev. B | 2600T Series Pressure transmitters
266 Models - FOUNDATION Fieldbus
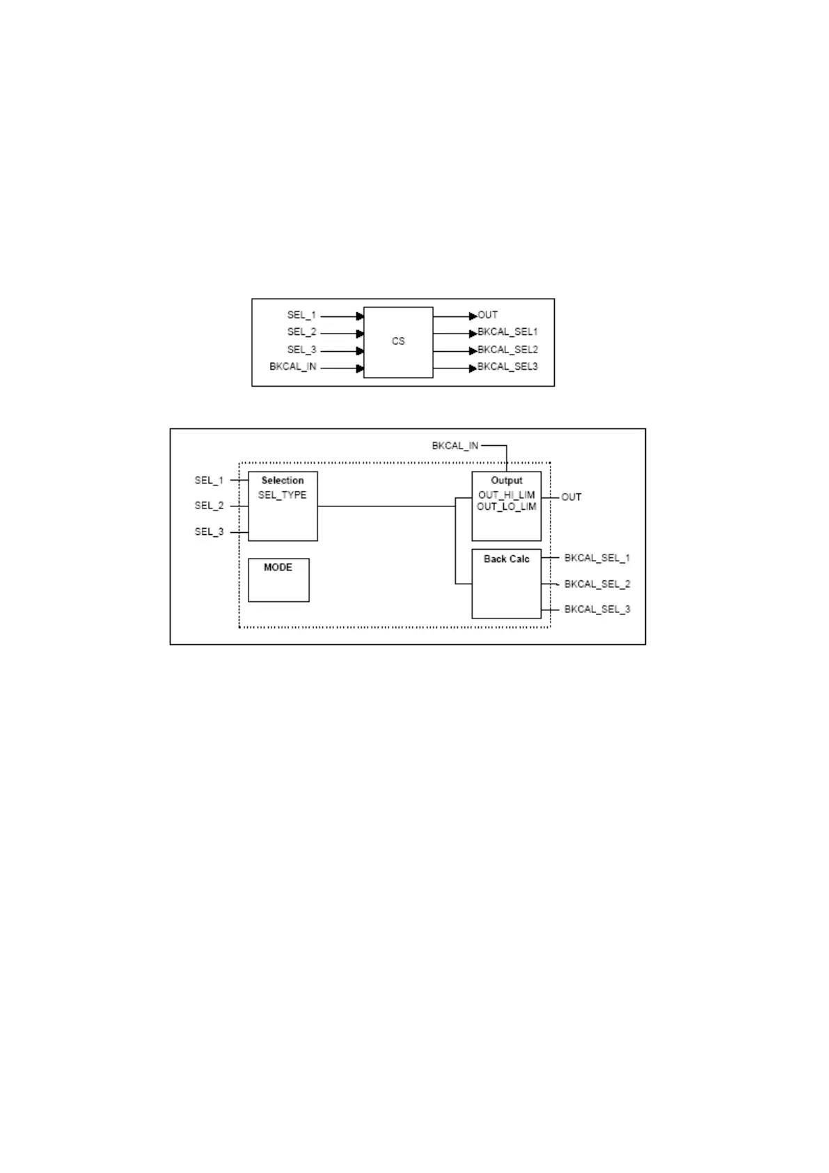
Control Selector function block (CS)
Overview
The control selector block is intended to select one of two or three control signals in a manner determined by SEL_TYPE, when the
block is in Auto mode. A different block, described in Part 3, is used for selecting a measurement from input or calculation blocks.
Block diagram
Description
All inputs to the selector block are assumed to have the same scaling as OUT, since any one of them may be selected to be OUT.
Three separate BKCAL_SEL_N outputs are available, one for each SEL_N input. The status will indicate those inputs that are not
selected. Control blocks that are not selected are limited in one direction only, determined by the type of selector. The value of each
BKCAL_SEL_N output is the same as OUT. The limits of back calculation outputs corresponding to deselected inputs will be high for a
low selector and low for a high selector, or one of each for a mid selector.
Equations
With the SEL_TYPE it is possible select the following algorithms:
1. High
2. Low
3. Middle
Configuration hints
The minimum configuration for having the CS working and/or moving out from the OOS needs at least the following settings:
– Set the SEL_TYPE with a valid value. It must be different by 0 and in the range 1 – 3

Related product manuals