EasyManua.ls Logo

ACO 6226 - Sound Pressure Level (L C;L F ) Measurement

Default Icon
41 pages
Print Icon
To Next Page IconTo Next Page
To Next Page IconTo Next Page
To Previous Page IconTo Previous Page
To Previous Page IconTo Previous Page
Loading...
18
2. Sound pressure level (L
C
/L
f
) measurement
(Sound pressure level measurements except A-weighted sound pressure level.)
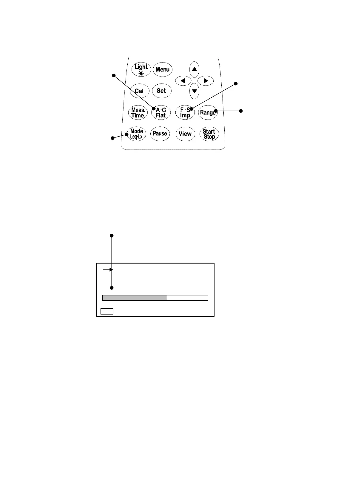
Frequency weighting key
(A C , Flat) Time weighting key
(Fast Slow, Impulse)
Range key
Measurement mode key
Parameter setting
Range
key: Select a range that Bar display indicates approximately 2/3 of the full scale.
Time weighting
key: Fast or Slow
Frequency weighting
key: C or F
Measurement mode
key: L
C
or L
f
Display
Indicates
Time weighting
.
(L
C
: frequency weighting is
C
; L
f
: frequency weighting is
FLAT
.)
Displayed level is updated once per second.
Bar display is updated 10 times per second.
You don’t need to press
Start
key.
00h 000h00m00s
FAST
L
C
dB
30 120
Manu
66.0

Related product manuals