EasyManua.ls Logo

Acterna SPM-32A - Levels in Dbm0, Relative Levels; (Rel)

Acterna SPM-32A
122 pages
Print Icon
To Next Page IconTo Next Page
To Next Page IconTo Next Page
To Previous Page IconTo Previous Page
To Previous Page IconTo Previous Page
Loading...
4-54
4.2 Operation and features SPM-32A ... SPM-36A
Measure the level difference
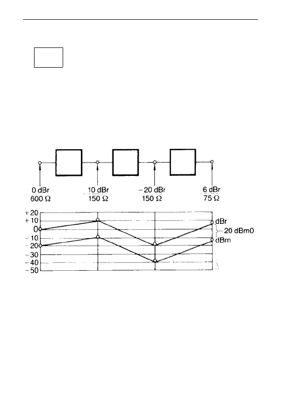
4.2.5.3 Levels in dBm0, relative levels
(REL)
Level in dBm0 = Absolute level - Level in dBr.
Fig. 4-20 Level plan for a transmission system
At the 0 TLP (0 dBr point) the level in dBm0 is equal to the
absolute power level. For other points in the transmission
system, [dBm0] = [dBm] - [dBr]. It must be ensured that the
correct relative level and the correct input impedance are
used for other test points.
ABS-REF

Table of Contents

Related product manuals