EasyManua.ls Logo

AEC IST5015 - Auto-Restart Mode

Default Icon
57 pages
Print Icon
To Next Page IconTo Next Page
To Next Page IconTo Next Page
To Previous Page IconTo Previous Page
To Previous Page IconTo Previous Page
Loading...
IST5 Tower UPS 10kVA~40kVA User Manual 7
Installation Instruction
Rectifier/
Discharger
Static Switch
Inverter
Charger
Load
Output Switch
Bypass Input
Main Input
Battery
Manual Bypass
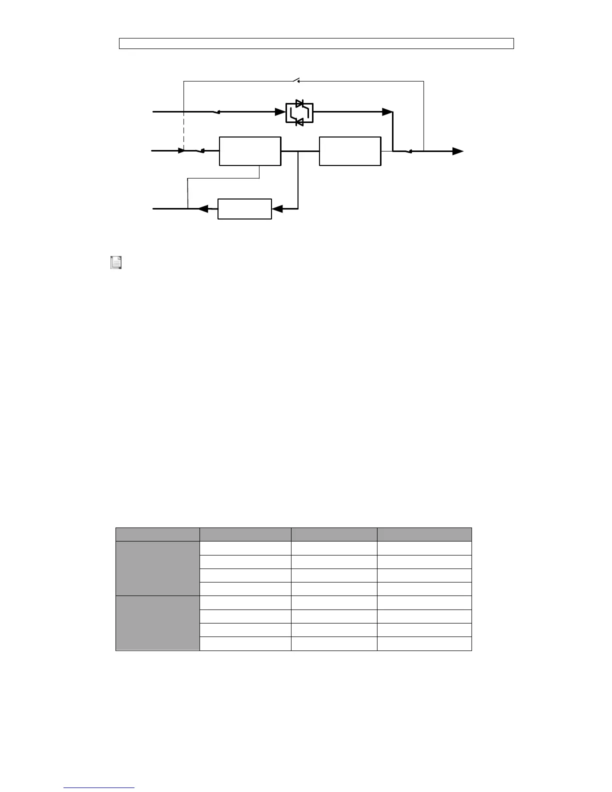
Fig.2-6 ECO Mode operation diagram
Note
There is a short interruption time (less than 10ms) when transfer from ECO mode to battery mode,
it must be sure that the interruption has no effect on loads.
2.3.6 Auto-restart Mode
The battery may become exhausted following an extended AC mains failure. The
inverter shuts down when the battery reaches the End of Discharge Voltage (EOD). The
UPS may be programmed to System Auto Start Mode after EOD”. The system starts
after a delay time when the AC mains recovers. The mode and the delay time are
programmed by the commissioning engineer.
2.3.7 Frequency Converter Mode
By setting the UPS to Frequency Converter mode, the UPS could present a stable output
of fixed frequency (50 or 60Hz), and the bypass static switch is not available.
2.4 UPS Structure
2.4.1 UPS Configuration
The UPS configuration is provided in Table 2.1
Table2.1 UPS Configuration
Item
Components
Quantity
Remark
Standard Backup
Type
Circuit Breakers
5
Standard
Dual Input
1
Standard
Parallel Card,
1
Optional
Dry Contact Card
1
Optional
Long Backup Type
Circuit Breakers
4
Standard
Dual Input
1
Standard
Parallel Card,
1
Optional
Dry Contact Card
1
Optional
)

Related product manuals