EasyManua.ls Logo

Aerco BENCHMARK 6000 - Page 42

Aerco BENCHMARK 6000
210 pages
Print Icon
To Next Page IconTo Next Page
To Next Page IconTo Next Page
To Previous Page IconTo Previous Page
To Previous Page IconTo Previous Page
Loading...
Benchmark 6000 Boiler Installation, Operation & Maintenance Manual
CHAPTER 3 OPERATION
Page 42 of 210 AERCO International, Inc. 100 Oritani Dr. Blauvelt, NY 10913 OMM-0086_0D
03/20/14 Ph.: 800-526-0288 GF-133
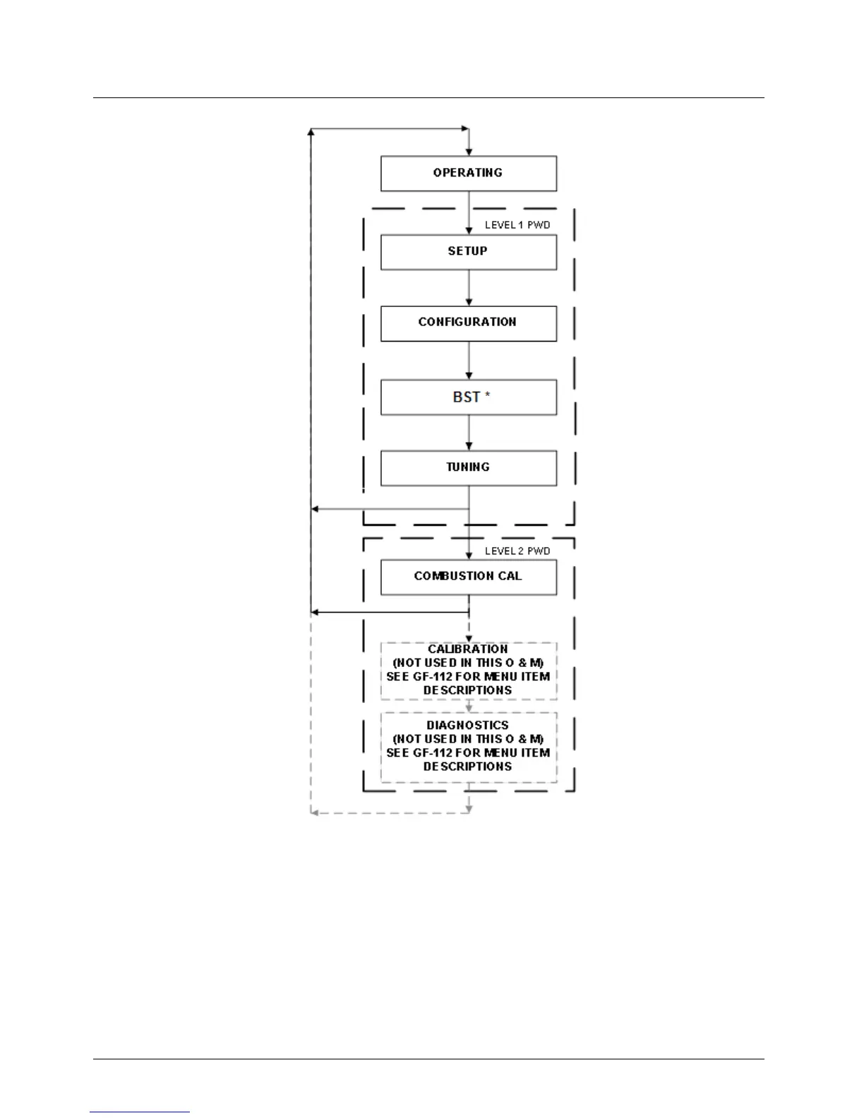
* Only if BST is enabled (see Chapter 10)
Figure 3-2: Menu Structure
NOTE
The following sections provide brief descriptions of the options
contained in each menu. Refer to Appendix A for detailed
descriptions of each menu option. Refer to Appendix B for listings
and descriptions of displayed startup, status and error messages.

Table of Contents

Related product manuals