EasyManua.ls Logo

AOR AR8200 - Page 25

AOR AR8200
140 pages
Print Icon
To Next Page IconTo Next Page
To Next Page IconTo Next Page
To Previous Page IconTo Previous Page
To Previous Page IconTo Previous Page
Loading...
25
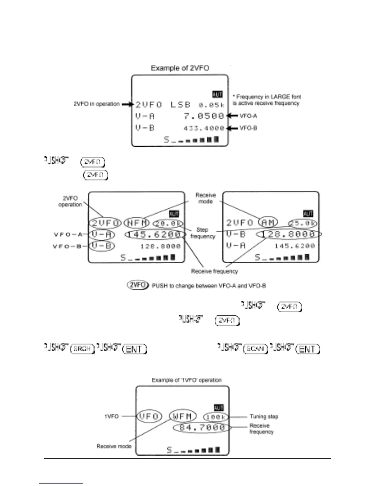
Both VFO frequencies are displayed in parallel format on the LCD, one above the other. The ‘
active
VFO (the one which is currently receiving) is displayed using a large font centrally on the LCD, the
standby
’ VFO is shown on a lower line using a smaller font size.
the key to first select ‘
VFO mode
’ (should the receiver be scanning or searching etc).
Each time the key is pushed VFO “V-A” and VFO “V-B” alternate between active and standby.
The first time you enter a frequency via the numeric keypad, it is best to the key to
place the receiver in a known state of operation. the key so the “V-A” becomes the
active VFO (upper and largest of the two frequency readouts). This condition is referred to as ‘
2VFO
mode with VFO-A active and VFO-B as standby. If you find the twin frequency display confusing,
or use the key sequence
(while no signal is present) so that only a single frequency readout is displayed, this is referred to as
1VFO
’ mode. Both 1VFO and 2VFO modes may be referred to simply as VFO mode or
manual mode
.
Section 3-2

Table of Contents

Other manuals for AOR AR8200

Related product manuals