EasyManua.ls Logo

AOR AR8200 - Scan Bank Selection and Linking

AOR AR8200
140 pages
Print Icon
To Next Page IconTo Next Page
To Next Page IconTo Next Page
To Previous Page IconTo Previous Page
To Previous Page IconTo Previous Page
Loading...
64
When SCAN has been selected, only the currently displayed memory bank WHICH CONTAINS DATA
will be SCANNED (as bank link is default off), receive mode and frequency are unimportant. Any
memory channels which contain no data (empty) will be ignored (skipped).
7-3-1 Transfer of active memory to VFO
When the scan process is paused on a busy channel, to transfer the current memory
frequency to VFO where it may be monitored.
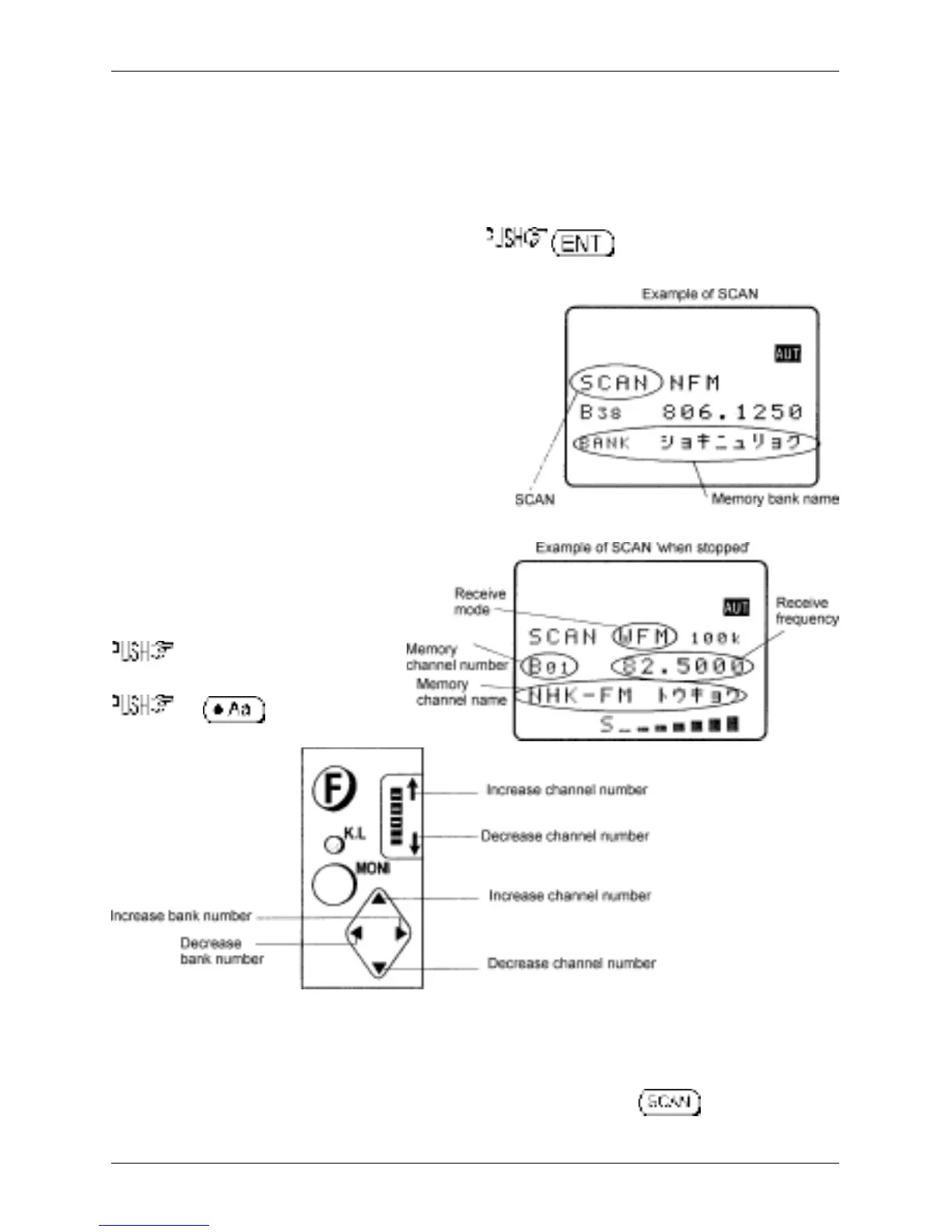
7-4 Selecting a scan bank
The memory bank identifier (such as “A”) will be
displayed on the left of the LCD under the legend
“SCAN”. If more than one memory channel is
programmed into the current memory bank the
channel numbers will be changing.
When an ‘active’ channel has been located (busy, so the
squelch opens) the scan process will
temporarily pause on the active channel, the memory
location (such as “A03”) will be displayed along with
any accompanying text (displayed underneath
the memory location).
To select another memory bank for
scanning, use the ï ð keys or
the corresponding letter on the
keypad from A to J, for lower case banks
the CASE SHIFT
key first.
If no data is available,
the next bank with
valid data will be
recalled (empty
memory banks are
skipped).
To scan more that one
memory bank at a
time, please refer to
the scan bank linking
section 7-7
of this
manual.
7-5 Channel PASS
When scanning, you may encounter active memory channels which you do not wish to currently monitor.
It is possible to manually force the scan process to continue by pressing the key or ñ ò keys
but this manual intervention can be an annoyance. For this reason it is possible to temporarily PASS
Section 7-3, 7-3-1, 7-4, 7-5

Table of Contents

Other manuals for AOR AR8200

Related product manuals