EasyManua.ls Logo

AOR AR8200 - Configuring Scan Group Parameters

AOR AR8200
140 pages
Print Icon
To Next Page IconTo Next Page
To Next Page IconTo Next Page
To Previous Page IconTo Previous Page
To Previous Page IconTo Previous Page
Loading...
67
BANK LINK” will be displayed on the bottom line of
the LCD indicating that programming
is
possible.
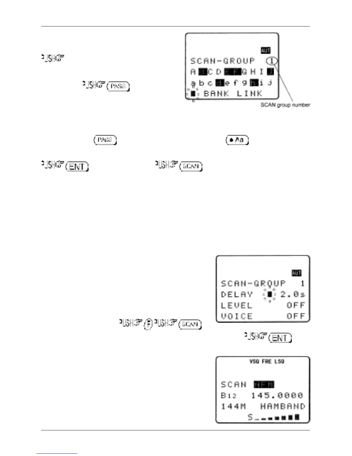
ò to move to the memory bank letters, then
reverse highlight the letters you wish to link together
as a group of memory channels to scan using the
ï ð ñ ò keys, to mark desired
memory banks, both upper and lower case letters may
be highlighted in the same group. The selected banks
(which will form a large scan group) will be displayed
in REVERSE contrast on the LCD.
It is also possible to use the keypad to quickly select the required banks for inclusion as a group, this
saves having to use to toggle selection, The CASE SHIFT key is used to toggle
between the upper and lower case memory bank listings.
to accept the data input. (one or twice) to start scanning if the
AR8200 is not already in scan mode. The memory banks grouped together in the SCAN GROUP will
form a large group during scan. The SCAN GROUP number (and associated data) will be used to define
current scan parameters.
For example:
If you group banks “B, E, F, a, h” as SCAN GROUP number “1”, then when any one of
these banks is scanned, all other banks in the group will be scanned in sequence over and over…
B > E > F > a > h > B > E > F > a > h etc (providing each of the banks contains stored memory
channels).
It is possible to scan ANY memory bank, even if it is not contained in the current SCAN GROUP list by
manually selecting the bank using the ï ð keys or keypad while in scan mode.
You can individually configure each of the nine SCAN GROUPS
1 to 9 with a different collection of banks. SCAN GROUP 0
cannot be changed as it contains the default of LINK OFF so
that you can quickly disable bank link when individual memory
scan is required. SCAN GROUP 0 also contains default
settings for DELAY, LEVEL, VOICE, FREE and MODE
parameters.
To change the active SCAN GROUP, access the SCAN GROUP
menu using the key sequence ,
select the desired SCAN GROUP (0 to 9) using the main dial or ï ð keys then to
accept the change and exit the menu.
7-8 Additional scan facilities
(Scan group environment - DELAY, LEVEL, VOICE, FREE, MODE)
It is possible to further customise the scan parameters for
each of the nine SCAN GROUPS (group 0 cannot be altered
as it contains the default information).
Section 7-7, 7-8

Table of Contents

Other manuals for AOR AR8200

Related product manuals