EasyManua.ls Logo

Astoria 2GR - Drilling the Support Base

Astoria 2GR
106 pages
Print Icon
To Next Page IconTo Next Page
To Next Page IconTo Next Page
To Previous Page IconTo Previous Page
To Previous Page IconTo Previous Page
Loading...
TECHNICIANS' manual
28 of 108
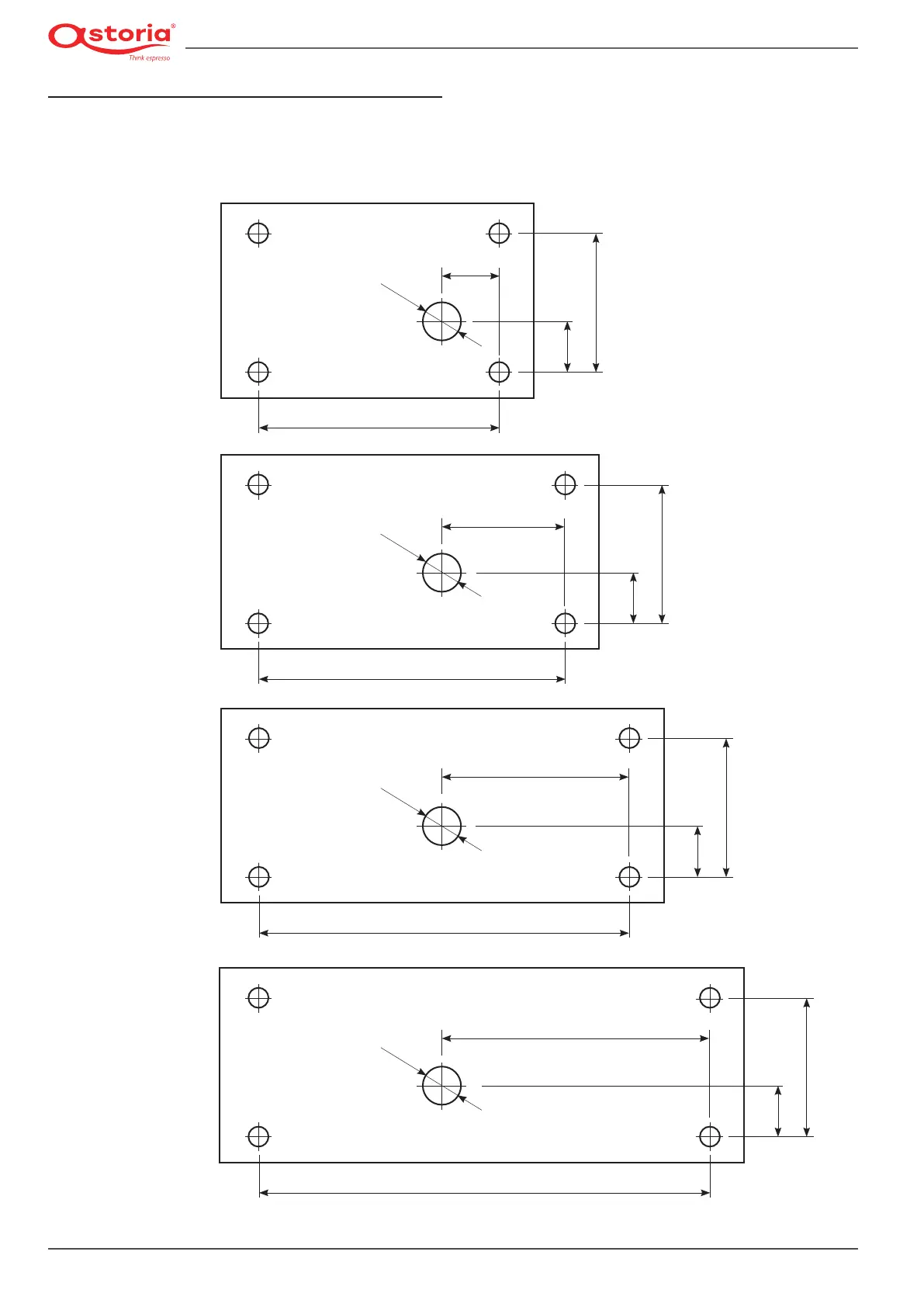
5.6 Drilling the support base
If holes need to be drilled into the support base to let the wa-
ter inlet hoses, outlet hoses and power cables pass through,
follow the directions given in the drawings below.
1 GROUP
COMPACT
326 mm
160 mm
Front of the machine
200 mm
382 mm
100 mm
4 GROUPS
400 mm
1016 mm
Front of the machine
382 mm
200 mm
100 mm
3 GROUPS
300 mm
776 mm
Front of the machine
382 mm
200 mm
100 mm
2 GROUPS
200 mm
536 mm
Front of the machine
382 mm
200 mm
100 mm

Table of Contents

Other manuals for Astoria 2GR

Related product manuals