EasyManua.ls Logo

Autonics TM4-N2SB - Alarm SV

Autonics TM4-N2SB
92 pages
Print Icon
To Next Page IconTo Next Page
To Next Page IconTo Next Page
To Previous Page IconTo Previous Page
To Previous Page IconTo Previous Page
Loading...
6 Parameter Settings and Functions
© Copyright Reserved Autonics Co., Ltd. 65
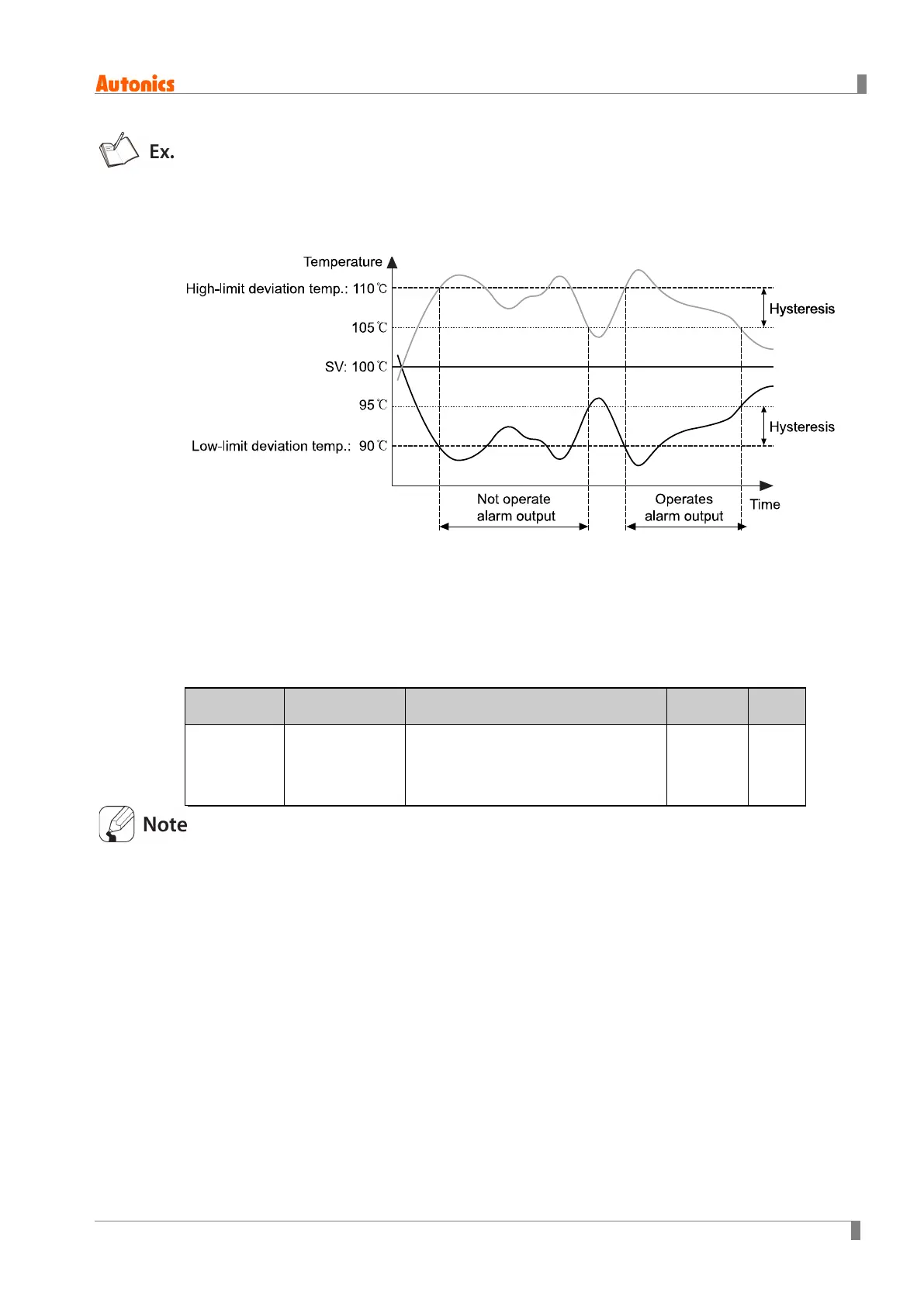
Example of SV: 100, alarm output operation mode: AL-3(Deviation high/low-limit alarm),
alarm option: AL-E(Standby sequence 2),
(deviation high/low-limit temperature: 10, alarm output hysteresis: 5)
When first alarm condition occurs, alarm output does not operate. From the sencond alarm
condition, alarm output operates.
6.4.4 Alarm SV
You can set alarm output activation values. According to the selected alarm output mode,
configuration parameters (AL.H/AL.L) will be activated for each setting.
Setting
group
Parameter Setting range
Factory
default
Unit
Alarm
Setting
Alarm High_Ch
Alarm Low_Ch
Deviation alarm: F.S. to F.S.
Absolute value alarm:
Within the temperature range of input
type
1550
/
Changing the alarm output mode or options resets the settings to the highest or lowest values
that will not trigger output in the new mode.

Table of Contents

Related product manuals