EasyManua.ls Logo

Autronica AutroFlame X33AF - Startup Procedure; Fire Alarm Test; Troubleshooting; Troubleshooting Warnings and Notes

Autronica AutroFlame X33AF
42 pages
To Next Page IconTo Next Page
To Next Page IconTo Next Page
To Previous Page IconTo Previous Page
To Previous Page IconTo Previous Page
Loading...
Instructions, AutroFlame X33AF, 116-P-X33AF/IGB, rev. E, 2013-08-13, P/N 95-8625-17.1, Rev: 2/13
Autronica Fire and Security AS
Page 9
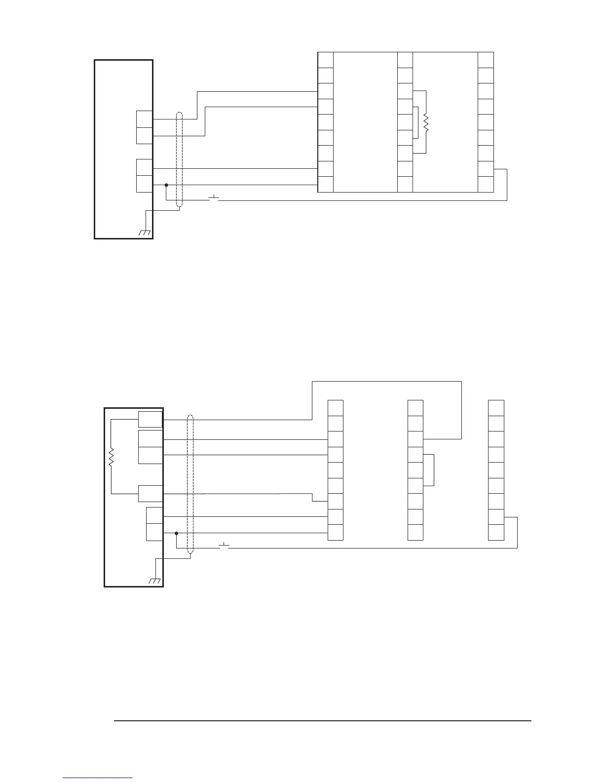
B2107*
FIRE ALARM PANEL
X33AF DETECTOR
ALARM
24 VDC
+
WIRING NOTES:
1 IN NORMAL OPERATION WITH NO FAULTS OCCURRING, THE FAULT RELAY COIL IS ENERGIZED AND
THE NORMALLY OPEN (N.O.) AND COMMON (COM) CONTACTS ARE CLOSED.
2 ALARM RELAY IS NORMALLY DE-ENERGIZED WITH NO ALARM CONDITION PRESENT.
3 INDIVIDUAL MANUAL o
i
TEST SWITCHES CAN BE INSTALLED REMOTELY OR A DETECTOR SELECTOR AND
ACTIVATION SWITCH CAN BE INSTALLED AT THE FIRE PANEL. TEST SWITCHES ARE NOT SUPPLIED.
4 REFER TO SPECIFICATIONS SECTION FOR EOL RESISTOR VALUES. REFER TO EOL RESISTORS SECTION
FOR INSTALLATION DETAILS.
E.O.L.
DEVICE
4
o
i
TEST
3
9
8
7
6
5
4
3
2
1
19
18
17
16
15
14
13
12
11
COM FIRE
2
COM FIRE
N.O. FIRE
2
N.O. FIRE
N.C. FIRE
2
N.C. FIRE
COM FAULT
1
COM FAULT
N.O. FAULT
1
N.O. FAULT
24 VDC +
24 VDC +
24 VDC
24 VDC
24 VDC
29
28
27
26
25
24
23
22
21
SPARE
SPARE
RS-485 A
RS-485 B
MAN O
i
4-20 mA +
4-20 mA –
4-20 mA + REF 4-20 mA – REF
COM AUX
N.O. AUX
N.C. AUX
Figure 7—Ex d Wiring Option
B2109
FIRE ALARM PANEL
X33AF DETECTOR
ALARM
ALARM
24 VDC
+
WIRING NOTES:
1 IN NORMAL OPERATION WITH NO FAULTS OCCURRING, THE FAULT RELAY COIL IS ENERGIZED AND
THE NORMALLY OPEN (N.O.) AND COMMON (COM) CONTACTS ARE CLOSED.
2 ALARM RELAY IS NORMALLY DE-ENERGIZED WITH NO ALARM CONDITION PRESENT.
3 INDIVIDUAL MANUAL o
i
TEST SWITCHES CAN BE INSTALLED REMOTELY OR A DETECTOR SELECTOR AND
ACTIVATION SWITCH CAN BE INSTALLED AT THE FIRE PANEL. TEST SWITCHES ARE NOT SUPPLIED.
4 EOL RESISTOR SUPPLIED BY PANEL.
EOL
DEVICE
4
o
i
TEST
3
9
8
7
6
5
4
3
2
1
19
18
17
16
15
14
13
12
11
COM FIRE
2
COM FIRE
N.O. FIRE
2
N.O. FIRE
N.C. FIRE
2
N.C. FIRE
COM FAULT
1
COM FAULT
N.O. FAULT
1
N.O. FAULT
24 VDC +
24 VDC +
24 VDC
24 VDC 24 VDC
29
28
27
26
25
24
23
22
21
SPARE
SPARE
RS-485 A
RS-485 B
MAN O
i
4-20 mA + 4-20 mA –
4-20 mA + REF
4-20 mA – REF
COM AUX
N.O. AUX
N.C. AUX
Figure 8—Ex d e Wiring Option

Other manuals for Autronica AutroFlame X33AF

Related product manuals