EasyManua.ls Logo

Axis A1001 - How to Access the Product from a Browser

Axis A1001
210 pages
Print Icon
To Next Page IconTo Next Page
To Next Page IconTo Next Page
To Previous Page IconTo Previous Page
To Previous Page IconTo Previous Page
Loading...
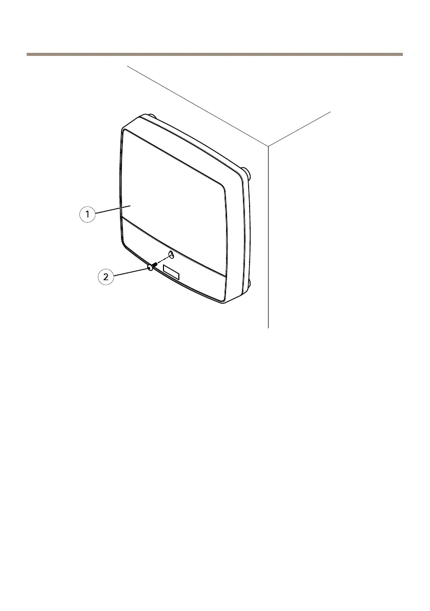
AXISA1001NetworkDoorController
1
Cover
2
Coverscrew(T10)
AccesstheProduct
Theproductcanbeusedwithmostoperatingsystemsandbrowsers.Therecommendedbrowsersare
InternetExplorerwithWindows,SafariwithMacintoshandFirefoxwithotheroperatingsystems.
Whenyouaccesstheproductforthersttime,youmustassignanIPaddressandsetthepassword
forthedefaultadministratoruserroot.
ToassignanIPaddress,seepage37.
Tosettherootpassword,seepage40.
Howtoaccesstheproductfromabrowser
1.Startawebbrowser.
2.EntertheIPaddressorhostnameoftheAxisproductinthebrowser’saddresseld.
36

Table of Contents

Other manuals for Axis A1001

Related product manuals