EasyManua.ls Logo

Bacharach 300 - Page 66

Bacharach 300
87 pages
Print Icon
To Next Page IconTo Next Page
To Next Page IconTo Next Page
To Previous Page IconTo Previous Page
To Previous Page IconTo Previous Page
Loading...
MODEL 300 COMBUSTION ANALYZER
5-4 Instruction 24-9223
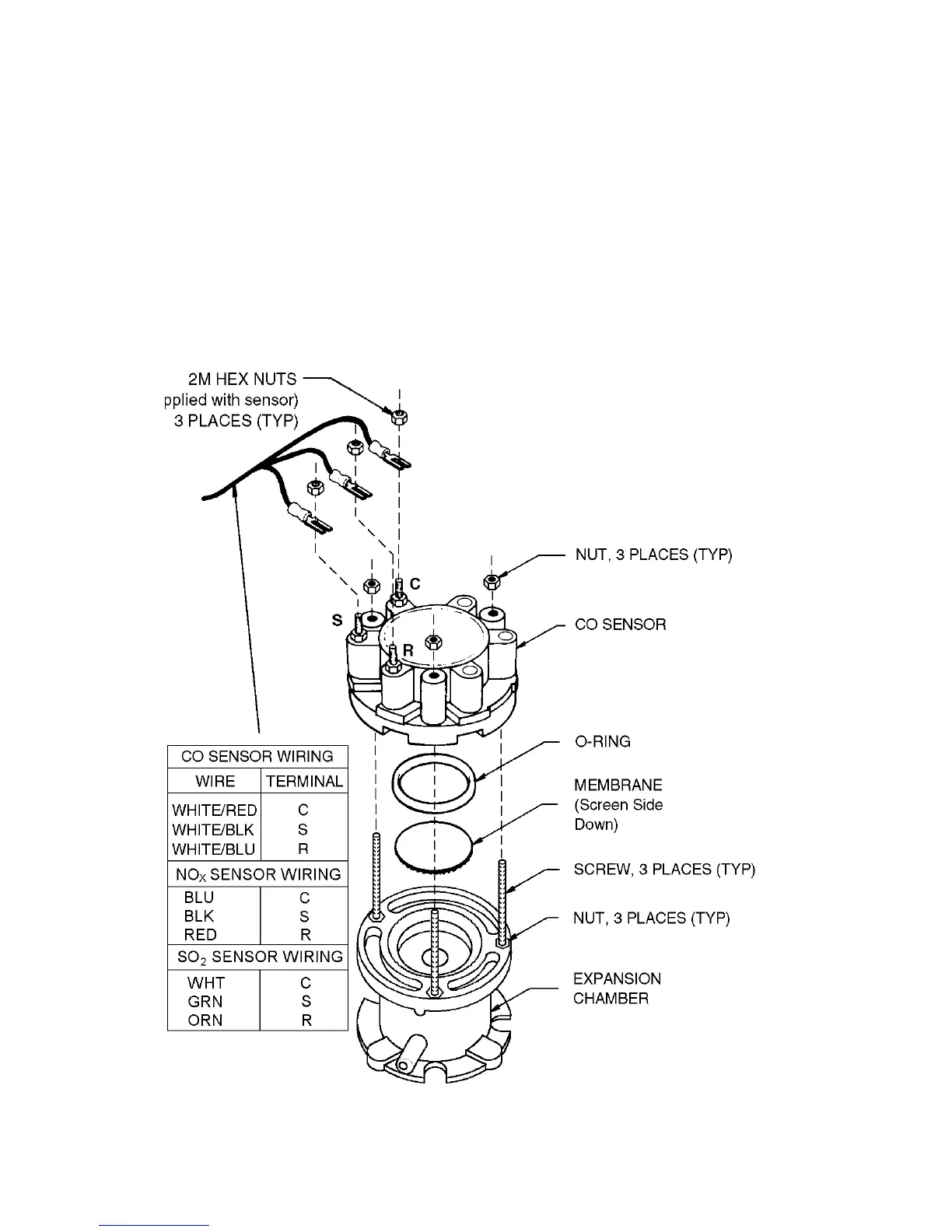
7. Remove shorting wire from CO and/or SO
2
sensor terminals R and S.
8. Loosen nuts on sensor terminals C, S and R; then connect wires from
analyzer to the sensor as shown in Fig. 5-1. Tighten these connections
with a nutdriver. DO NOT overtighten connections!
9. Replace sensor cover.
10.Calibrate the new Toxic sensor per Section 4.3 (See Table 5-1 for NO
X
stailization time prior to calibration).
Figure 5-2. Toxic Sensor Replacement

Table of Contents

Related product manuals