EasyManua.ls Logo

Bacharach 300 - Page 71

Bacharach 300
87 pages
Print Icon
To Next Page IconTo Next Page
To Next Page IconTo Next Page
To Previous Page IconTo Previous Page
To Previous Page IconTo Previous Page
Loading...
MODEL 300 COMBUSTION ANALYZER
Instruction 24-9223 5-9
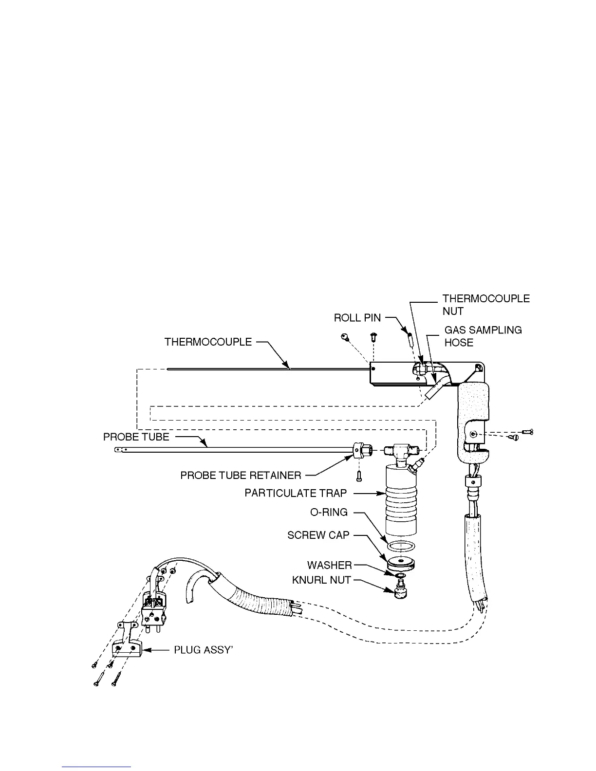
d. Attach gas sampling hose to particulate trap. Dress the sampling
hose and thermocouple wire neatly to prevent kinking the hose.
e. Install particulate trap, probe tube, and roll pin in probe handle.
Position particulate trap so that its tee fitting rests on top of the
roll pin.
f. Attach probe-tube retainer to probe handle using two Allen screws.
If necessary, loosen bottom Allen screw and move retainer to align
screw holes.
10. Attach sampling hose to filter/trap, and plug thermocouple connector
into control panel.
11. Leak test probe as described in Section 5.5.
Figure 5-4. Exploded View of Probe Assembly

Table of Contents

Related product manuals