EasyManua.ls Logo

BendPak Clearfloor 10AP - Page 41

Default Icon
96 pages
Print Icon
To Next Page IconTo Next Page
To Next Page IconTo Next Page
To Previous Page IconTo Previous Page
To Previous Page IconTo Previous Page
Loading...
10AP Series Two-Post Lifts 41 P/N 5900265 Rev. A6 December 2022
Reference only do not scale.
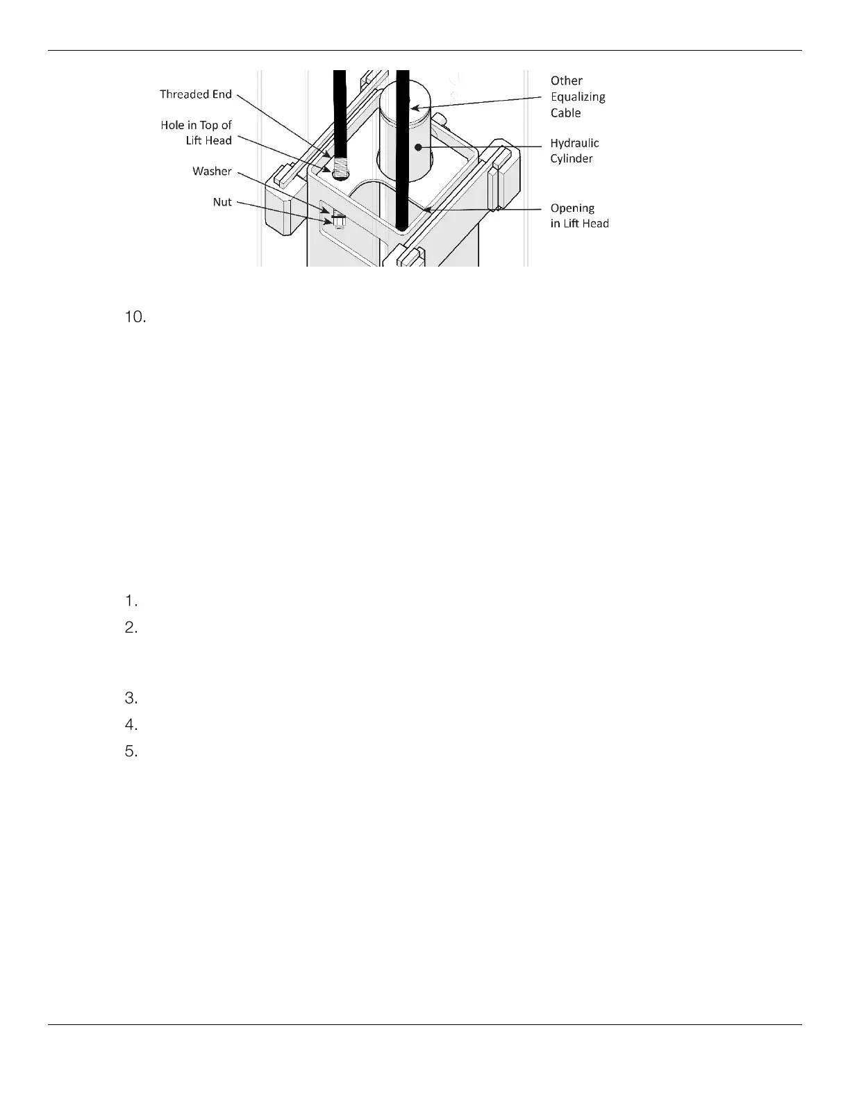
Perform Steps 3 through 9 for the other Equalizing Cable.
Mounting the Power Unit
This section describes how to mount the Power Unit to the Powerside Post. You do
not
need an
Electrician to
mount
the Power Unit, but you do need an Electrician to
connect
the Power Unit.
Refer to Connecting the Power Unit for installation information for your Electrician and specific
information about the Power Unit that came with your Lift.
NOTICE Do not connect the Power Unit to the Hydraulic System or to the power source at
this point in the installation; those connections will be made later.
CAUTION The Power Unit is heavy. BendPak recommends having one person hold the Power
Unit while a second person bolts it into place.
To mount the Power Unit:
Find the supplied four Hex Head Bolts, four Nyloc Nuts, and one Vibration Dampener.
Remove the Power Unit from the packaging material.
Important The Power Unit is heavy. BendPak recommends having one person hold the Power Unit
while a second person bolts it into place.
Put the Vibration Dampener into place next to the Mounting Bracket on the Powerside Post.
Move the Power Unit Mount Plate next to the Vibration Dampener.
Secure the Power Unit and Vibration Dampener using the hardware listed below, using all four
holes to secure the Power Unit.

Related product manuals