EasyManua.ls Logo

BendPak Clearfloor 10AP - Wiring Diagrams

Default Icon
96 pages
Print Icon
To Next Page IconTo Next Page
To Next Page IconTo Next Page
To Previous Page IconTo Previous Page
To Previous Page IconTo Previous Page
Loading...
10AP Series Two-Post Lifts 74 P/N 5900265 Rev. A6 December 2022
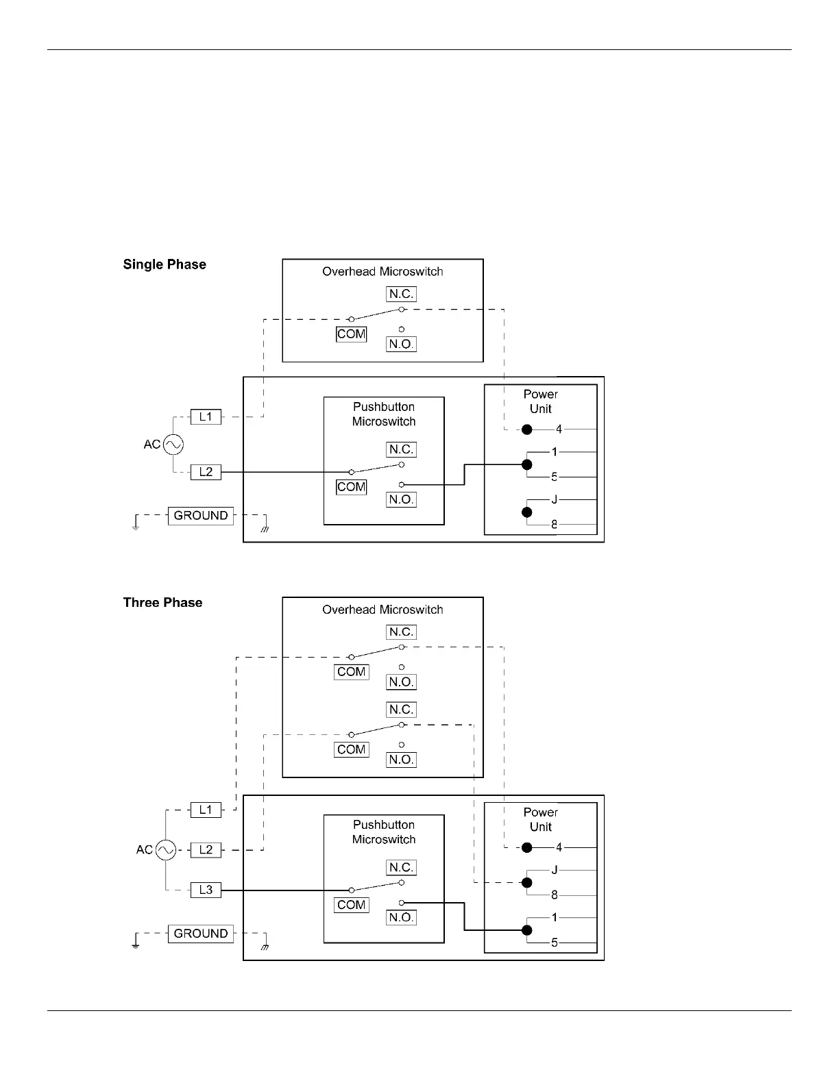
Wiring Diagrams
This section includes wiring information for the Microswitch(es).
DANGER All wiring
must
be performed by a licensed, certified Electrician in accordance with
all local and national electrical codes. Make sure that main electrical power has
been disconnected from the Lift and cannot be re-energized until all procedures are
complete. If your organization has Lockout/ Tagout policies, make sure to
implement them after connecting the Lift to power.

Related product manuals