EasyManua.ls Logo

BendPak XPR-7TR - Floorplan; Capacity

BendPak XPR-7TR
48 pages
Print Icon
To Next Page IconTo Next Page
To Next Page IconTo Next Page
To Previous Page IconTo Previous Page
To Previous Page IconTo Previous Page
Loading...
11
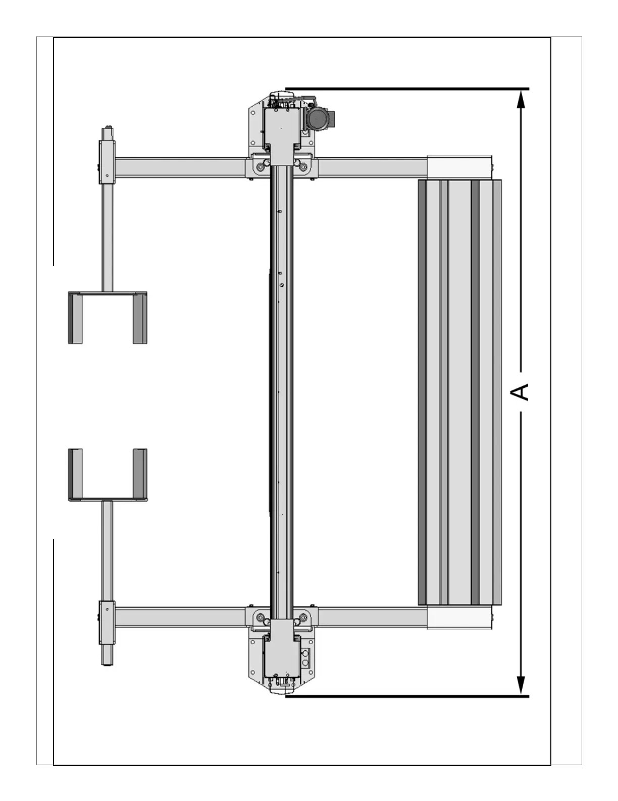
FLOORPLAN / CAPACITY
MODEL: XPR-7TR Dim “A”: 3683mm / 145” CAPACITY; 7,000 Lbs.

Related product manuals