EasyManua.ls Logo

BMW Z3 E37 1998 - Page 148

BMW Z3 E37 1998
347 pages
Print Icon
To Next Page IconTo Next Page
To Next Page IconTo Next Page
To Previous Page IconTo Previous Page
To Previous Page IconTo Previous Page
Loading...
paragon.myvnc.com
04/99
3450.1
1998
Ć01
28 X1170
.5 BR/SW
23 X11765
18 19 4
2
3 1
.5 BR/BL .75 BR/WS .75 BR/
GN/GE
.75 BR/RT
.5 BR/GN
.5 BR/WS/GE
26 25 24
223 1 36 X1170
.5 WS/VI
41
20 X1176
2.5 RT/GN/GE
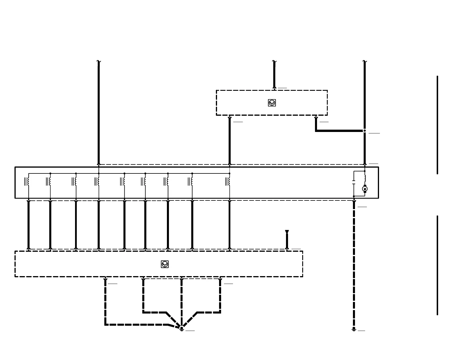
A52
SLIP CONTROL
MODULE
(ABS/ASC)
Y1w
ABS HYDRAULIC
UNIT
6) RIGHT REAR
OUTLET VALVE
7) RIGHT REAR
INLET VALVE
8) LEFT REAR
OUTLET VALVE
9) LEFT REAR
INLET VALVE
10) RIGHT FRONT
OUTLET VALVE
11) RIGHT FRONT
INLET VALVE
12) LEFT FRONT
OUTLET VALVE
13) LEFT FRONT
INLET VALVE
14) PUMP MOTOR
15) SEPARATOR
VALVE
A52
SLIP CONTROL
MODULE
(ABS/ASC)
GROUND
DISTRIBUTION
0670.4
GROUND
DISTRIBUTION
0670.4
TXD
16 24 25
.5 BR/
BL/GE
.5 BR/GR/
GE
.75 BR/SW/
GE
29 27 22
17
19
13121110896715
14
GROUND
DISTRIBUTION
0670.4
5
15 X1170
X19002
.35 RT/BL
.75 RT/GN/GE
2.5 RT/GN/GE2.5 RT/BL/GE
DATA LINK
0670.5
X170
2
GROUND
DISTRIBUTION
0670.4
X1166
GROUND
DISTRIBUTION
0670.4
X1652
X1652 3 X1170

Related product manuals