EasyManua.ls Logo

Bradco SG30 - Cylinder Assembly

Default Icon
65 pages
Print Icon
To Next Page IconTo Next Page
To Next Page IconTo Next Page
To Previous Page IconTo Previous Page
To Previous Page IconTo Previous Page
Loading...
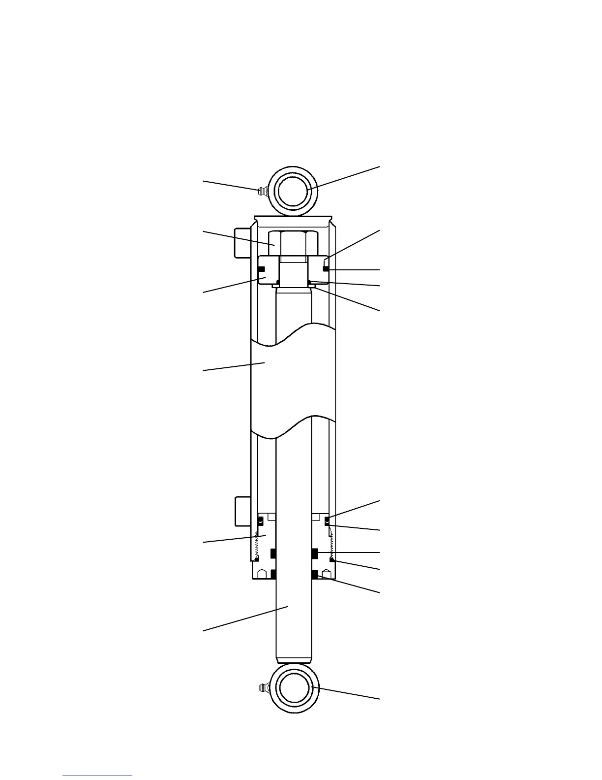
CYLINDER ASSEMBLY
9721 8-4-14-2
ASSEMBLY #100324
1
2
3
4
5
6
7
8
9
10
11
12
13
14
15
16
17
54
75578

Related product manuals