EasyManua.ls Logo

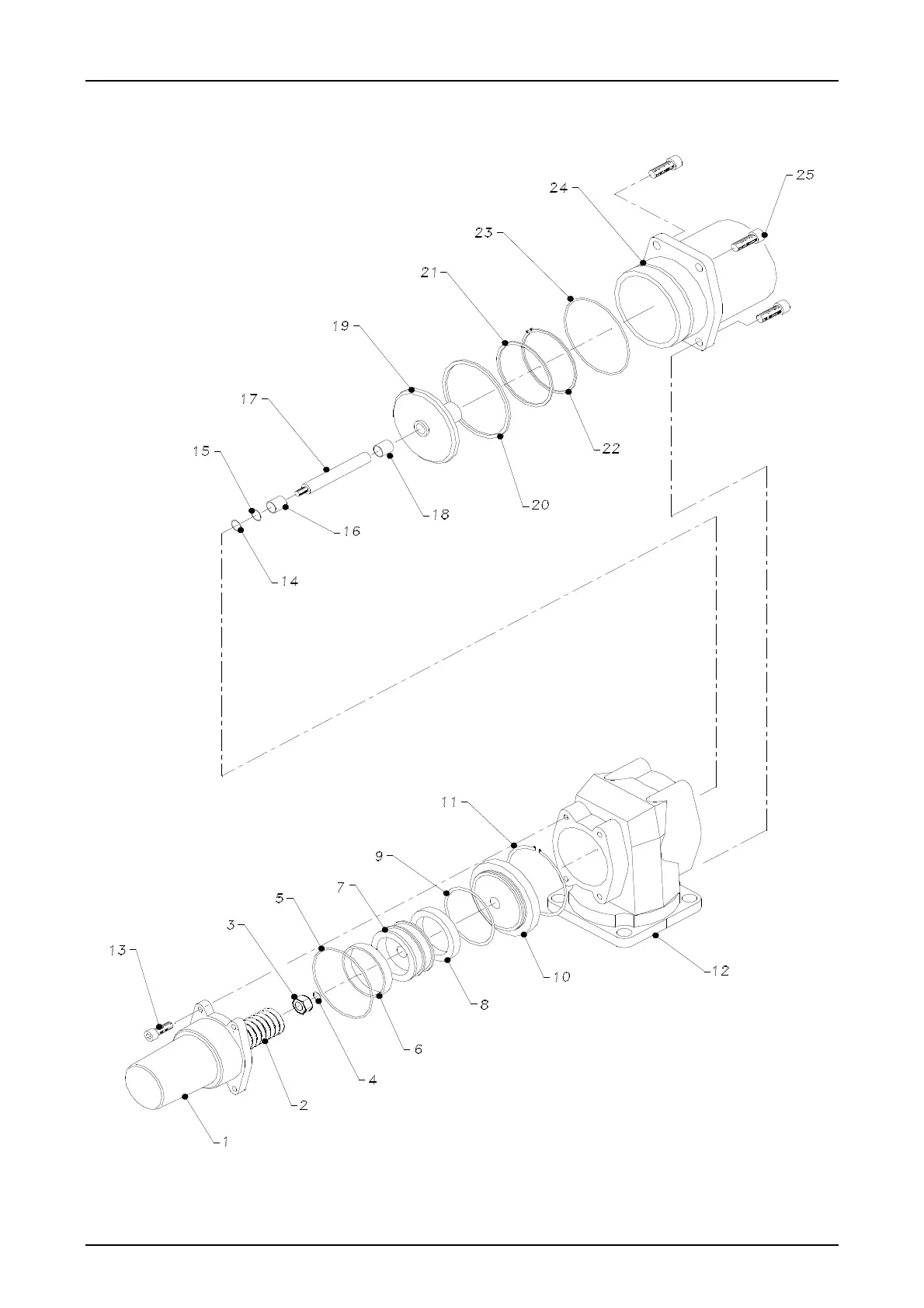
Champion CSE37 - Figure 13 - Inlet Control Valve Assembly

Champion CSE37
90 pages
Print Icon
To Next Page IconTo Next Page
To Next Page IconTo Next Page
To Previous Page IconTo Previous Page
To Previous Page IconTo Previous Page
Loading...
Champion Compressors Pty. Ltd. Manual No. 975425 Rev. C
59
Figure 13 - Inlet Control Valve Assembly

Table of Contents

Related product manuals