EasyManua.ls Logo

Cincinnati Sub-Zero WarmAir 135 - Main Assembly

Cincinnati Sub-Zero WarmAir 135
44 pages
Print Icon
To Next Page IconTo Next Page
To Next Page IconTo Next Page
To Previous Page IconTo Previous Page
To Previous Page IconTo Previous Page
Loading...
WarmAir
Model 135 Manual ASSEMBLY DRAWINGS AND PARTS LIST
Page 37 of 43
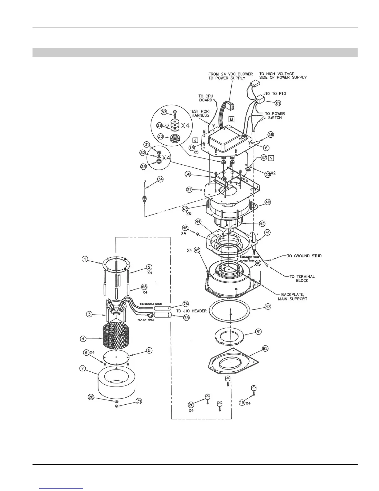
Main Assembly

Table of Contents

Related product manuals