EasyManua.ls Logo

Cloos GLC 503 MC3 - Program Steps; Operating Modes During Programming

Default Icon
122 pages
Print Icon
To Next Page IconTo Next Page
To Next Page IconTo Next Page
To Previous Page IconTo Previous Page
To Previous Page IconTo Previous Page
Loading...
B-24
Programming
GLC 353/503/553 MC3
P2 Program steps
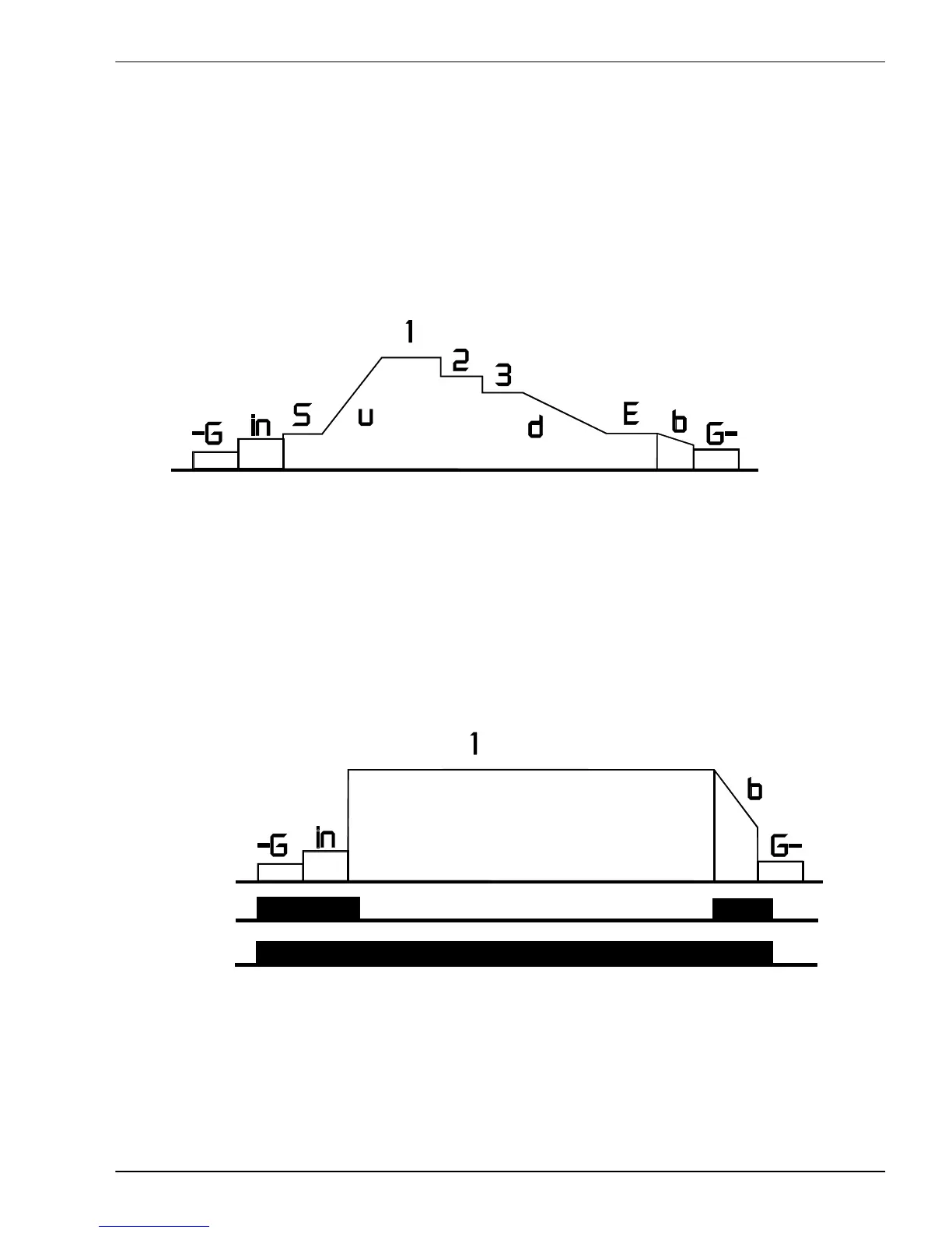
By means of the graphic aid all possible program steps are shown. The abbreviations for the
program steps are shown on display 3. The abbreviations are explained below:
-G Gas preflow 1 Main parameter 1 E End crater program
in Wire "inching-in" speed 2 Main parameter 2 b Burnback
S Start parameter 3 Main parameter 3 G- Gas postflow
u Start ramp (Upslope) d End crater ramp
P3 Operating modes during programming
The number of program steps depends on the operating mode. Actuate the torch trigger to
change to the next program step. The following drawings explain the connection (association)
between operating modes, possible program steps and welding torch trigger.
Operating mode: 2 and 4 cycle:
Program steps
4 cycle
2 cycle
Welding torch trigger
The diagram shows the connection between the program steps and the actuation of the torch
trigger as well as the difference between the operating modes 2 cycle and 4 cycle.
P2 Programmschritte

Table of Contents

Related product manuals