EasyManua.ls Logo

COMBAT CUHA - Fig 5.8 Wiring For CUHB;A & CUHC;A Models 60 to 160

COMBAT CUHA
84 pages
Print Icon
To Next Page IconTo Next Page
To Next Page IconTo Next Page
To Previous Page IconTo Previous Page
To Previous Page IconTo Previous Page
Loading...
Page 42
UNIT HEATER
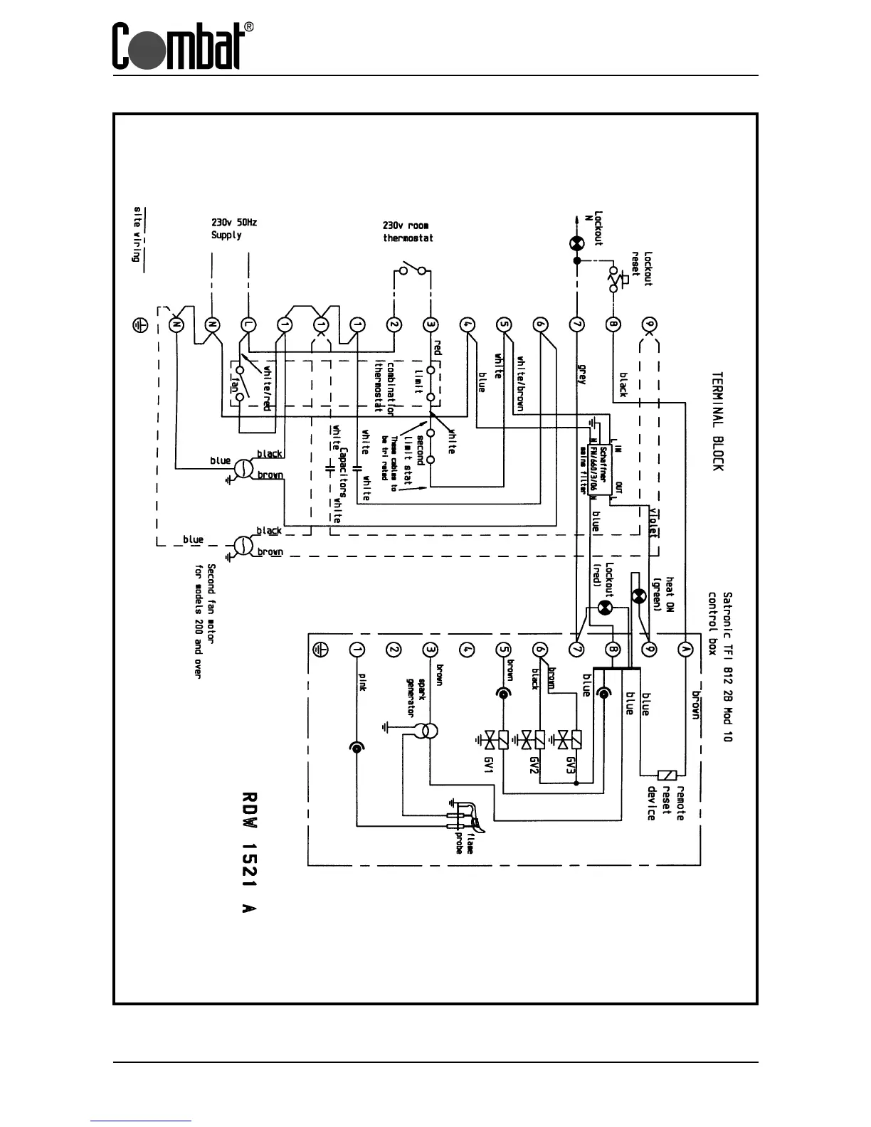
Fig. 5.6 Wiring Diagram for CUHA/A Range of Heaters Models 60 to 240
AUTOMATIC IGNITION

Table of Contents

Related product manuals