EasyManua.ls Logo

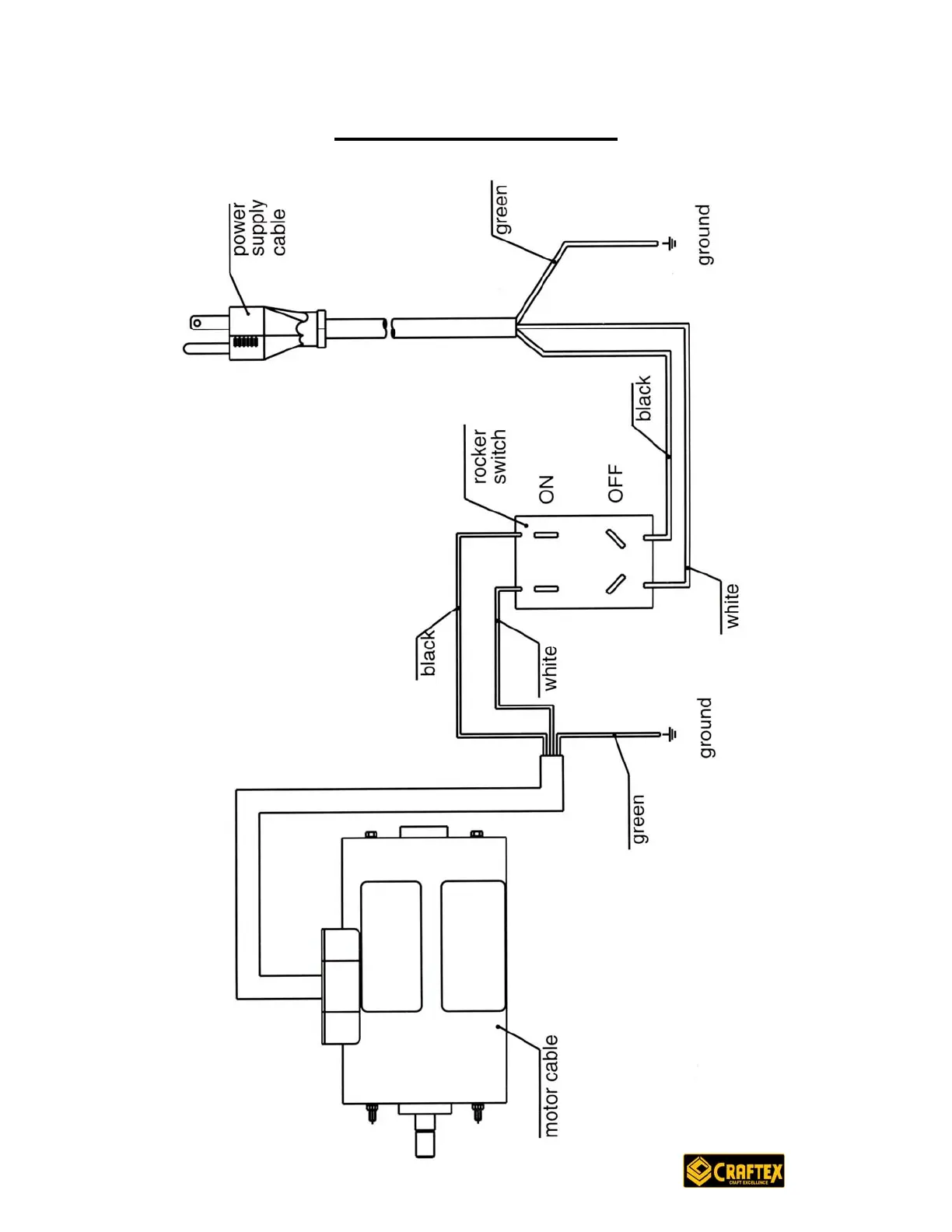
Craftex B2397 - ELECTRICAL DIAGRAM

Craftex B2397
40 pages
Print Icon
To Next Page IconTo Next Page
To Next Page IconTo Next Page
To Previous Page IconTo Previous Page
To Previous Page IconTo Previous Page
Loading...
22
ELECRTICAL DIAGRAM

Related product manuals