EasyManua.ls Logo

Danfoss AK-CC 750 series - Thermostat Operation Modes; Individual ON;OFF and Modulating Thermostats

Danfoss AK-CC 750 series
96 pages
Print Icon
To Next Page IconTo Next Page
To Next Page IconTo Next Page
To Previous Page IconTo Previous Page
To Previous Page IconTo Previous Page
Loading...
72 RS8GM222 © Danfoss 10-2014 AK-CC 750 - 080Z0130 & 080Z0139
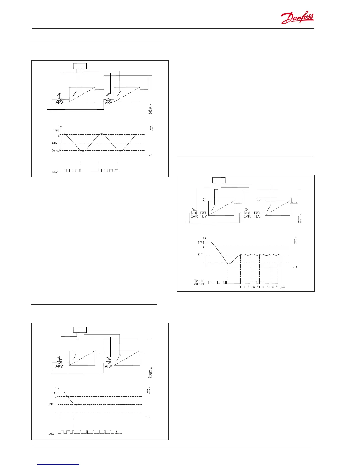
One valve for every evaporator + individual ON/OFF thermostat
Here, one valve is used per evaporator and the temperature is
controlled individually in each evaporator section according to the
ON/OFF principle.
The thermostat in every section controls the temperature via the
S3/S4 sensors in every section (where appropriate, see the section
on sensor selection).
Thermostat type = Modulating
Modulating temperature regulation maintains a more constant
temperature and also equalises the load on the system so that the
compressors have better operating conditions.
This function can only be used on:
- central systems with AKV valves
- central systems with solenoid valves
- brine systems with solenoid valves.
• Each of the individual evaporator sections is controlled individu-
ally using a modulating thermostat function.
• Cut-out value and dierence must be set as with an ON/OFF
thermostat.
One AKV valve for each evaporator + modulating thermostat
Here, one valve is used per evaporator and the temperature is
controlled individually in each evaporator section according to the
modulating thermostat principle.
The thermostat in each section controls the temperature via the
S3/S4 sensors in each section.
During cooling and in the case of major load variations in which
the temperature falls outside of the thermostat limits, injection
is regulated so that the evaporator operates with the minimum
possible stable superheating. This ensures that the cooling process
takes place as quickly as possible.
In the case of stable loads, the thermostat will reduce the open-
ing time for the AKV valve, so the through ow of refrigerant is
restricted to precisely the amount that is required to maintain the
temperature at the required reference (area control).
The reference temperature will be the set cut-out temperature +
half the dierence.
The cut-out temperature and dierence are set as in the case of
a standard On/O thermostat. The dierence should not be set
to less than 4°F. (In the case of a smaller dierence, load changes
could interfere with the modulating thermostat function.)
One solenoid valve for each evaporator + modulating thermostat
Here, one valve is used per evaporator and the temperature is
controlled individually in each evaporator section according to the
modulating thermostat principle.
With solenoid valves, a pulse modulating principle is used with an
adjustable period. The valve is opened and closed within a period
(e.g. 5 minutes). A PI controller calculates how long the valve
needs to be open in order to maintain the most constant tempera-
ture.
The reference temperature will be the set cut-out temperature +
half the dierence.
The cut-out temperature and dierence are set as in the case of
a standard On/O thermostat. The dierence should not be set
to less than 4°F. (In the case of a smaller dierence, load changes
could interfere with the modulating thermostat function.)
The current load on the appliance can be read o in the form of
the valve's opening time as a percentage of the set period.

Related product manuals