EasyManua.ls Logo

Deif MIB 7000 - Page 16

Deif MIB 7000
50 pages
To Next Page IconTo Next Page
To Next Page IconTo Next Page
To Previous Page IconTo Previous Page
To Previous Page IconTo Previous Page
Loading...
MIB Installation Instructions and Reference Handbook
DEIF A/S
Page 16 of 50
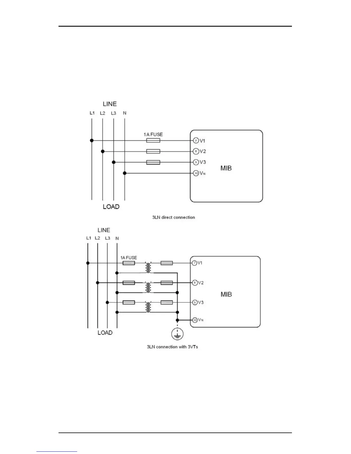
Voltage input wiring
3LN. 3-phase 4-line Y
The 3-phase 4-line Wye mode is popularly used in low voltage electric
distribution power systems. The MIB can either be connected directly to the
power line, or it can be connected with voltage transformers.

Related product manuals