EasyManua.ls Logo

Deif MIB 7000 - Page 17

Deif MIB 7000
50 pages
To Next Page IconTo Next Page
To Next Page IconTo Next Page
To Previous Page IconTo Previous Page
To Previous Page IconTo Previous Page
Loading...
MIB Installation Instructions and Reference Handbook
DEIF A/S
Page 17 of 50
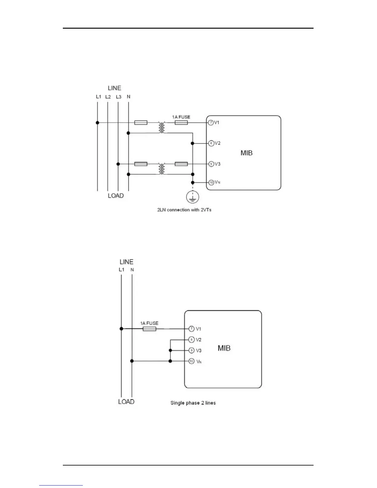
2LN. 3-phase 4-line Y with 2 voltage transformers
This mode is used in some high voltage 3-phase 4-line Wye systems. It is
supposed that the 3 phases of the power system are in balance. The V2
voltage is calculated from the measured values of V1 and V3.
1LN. 1-phase 2-line
This connection is used for measurement on single phase systems.

Related product manuals