EasyManua.ls Logo

Deif MIB 7000 - Page 18

Deif MIB 7000
50 pages
To Next Page IconTo Next Page
To Next Page IconTo Next Page
To Previous Page IconTo Previous Page
To Previous Page IconTo Previous Page
Loading...
MIB Installation Instructions and Reference Handbook
DEIF A/S
Page 18 of 50
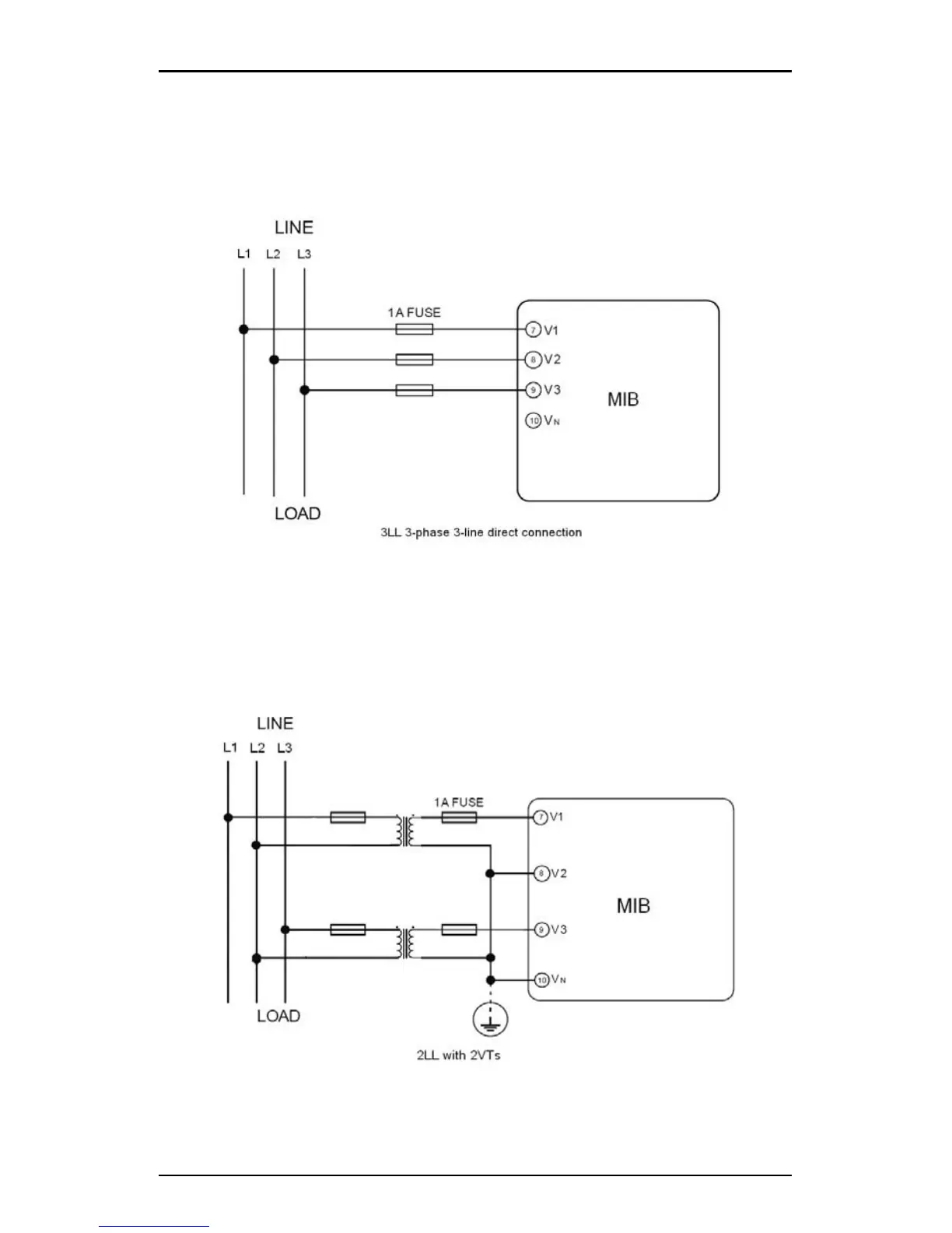
3LL. 3-phase 3-line direct connection
In a 3-phase 3-line system, power lines L1, L2 and L3 are connected to V1,
V2 and V3 directly. Vn is floated. The voltage input mode should be set to
3LL.
2LL. 3-phase 3-line open delta
Open delta wiring mode is used in some applications.

Related product manuals