EasyManua.ls Logo

Deif MIB 7000 - Page 19

Deif MIB 7000
50 pages
To Next Page IconTo Next Page
To Next Page IconTo Next Page
To Previous Page IconTo Previous Page
To Previous Page IconTo Previous Page
Loading...
MIB Installation Instructions and Reference Handbook
DEIF A/S
Page 19 of 50
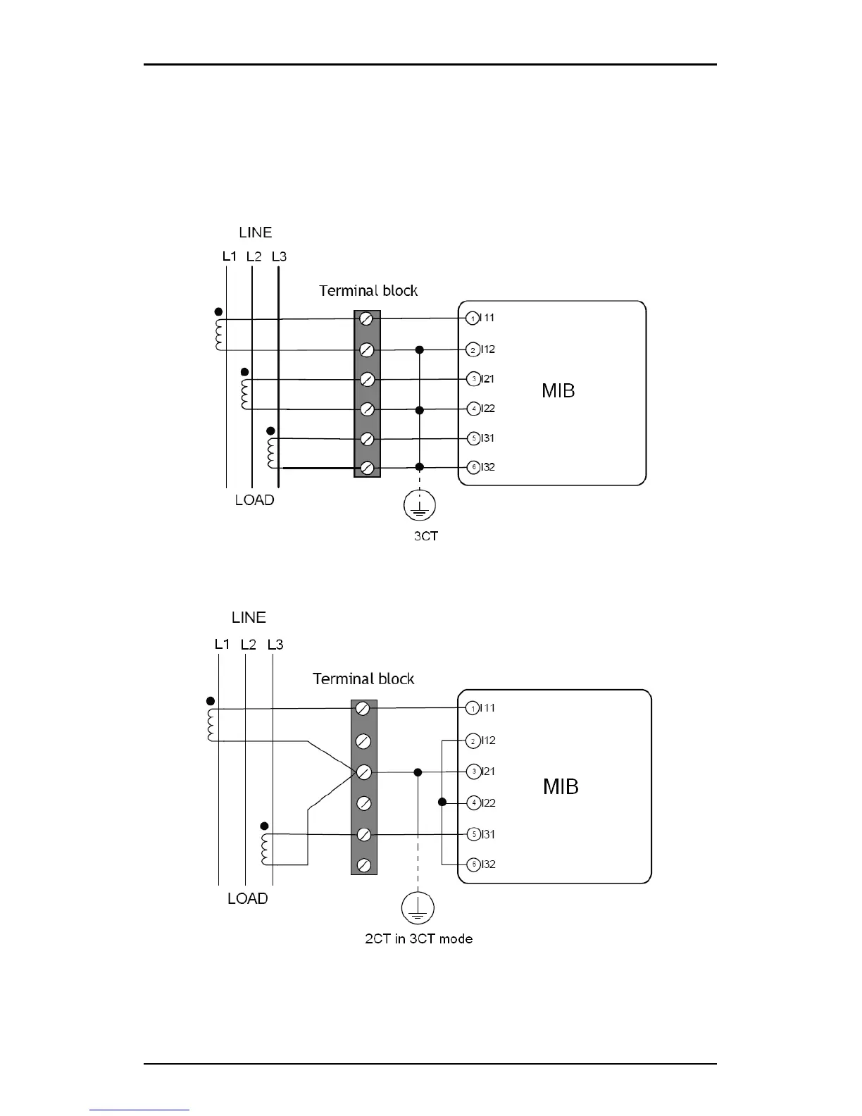
Current input wiring
3CT
All the current inputs of the 3-phase system can be seen as 3CT one, whether
there are 2 CTs or 3CTs on the input side. The current input mode of the MIB
should be set to 3CT for both couplings below.

Related product manuals