EasyManua.ls Logo

Deif MIB 7000 - Page 20

Deif MIB 7000
50 pages
To Next Page IconTo Next Page
To Next Page IconTo Next Page
To Previous Page IconTo Previous Page
To Previous Page IconTo Previous Page
Loading...
MIB Installation Instructions and Reference Handbook
DEIF A/S
Page 20 of 50
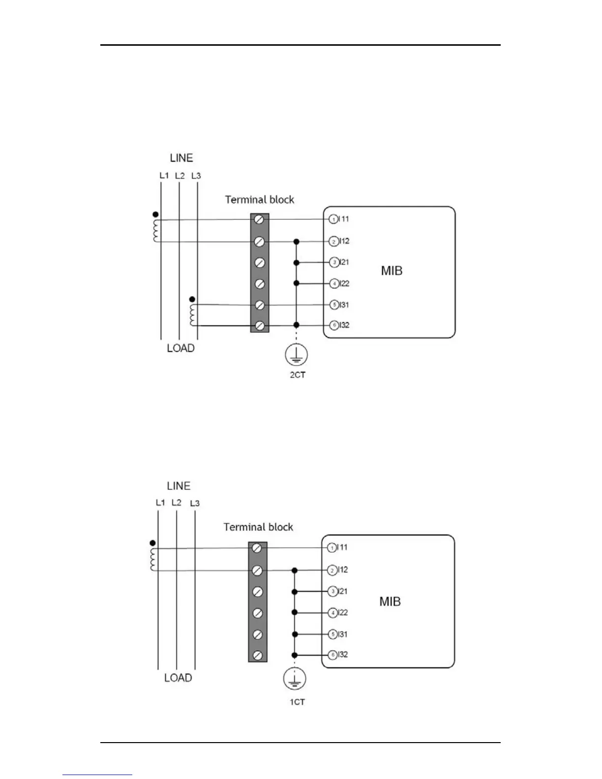
2CT
The difference between the 2CT mode and the 3CT mode is that there is no
current input in the I21 and I22 terminals. The I2 value is calculated from the
formula I1+I2+I3=0. The current in an N-wire cannot be calculated in this
mode. The current input mode of the MIB should be set to 2CT.
1CT
This connection with only one current transformer can be used, if the 3-phase
system is in full balance. The other two phase currents are calculated
according to the expected balance. The current in an N-wire cannot be
calculated in this mode.

Related product manuals