EasyManua.ls Logo

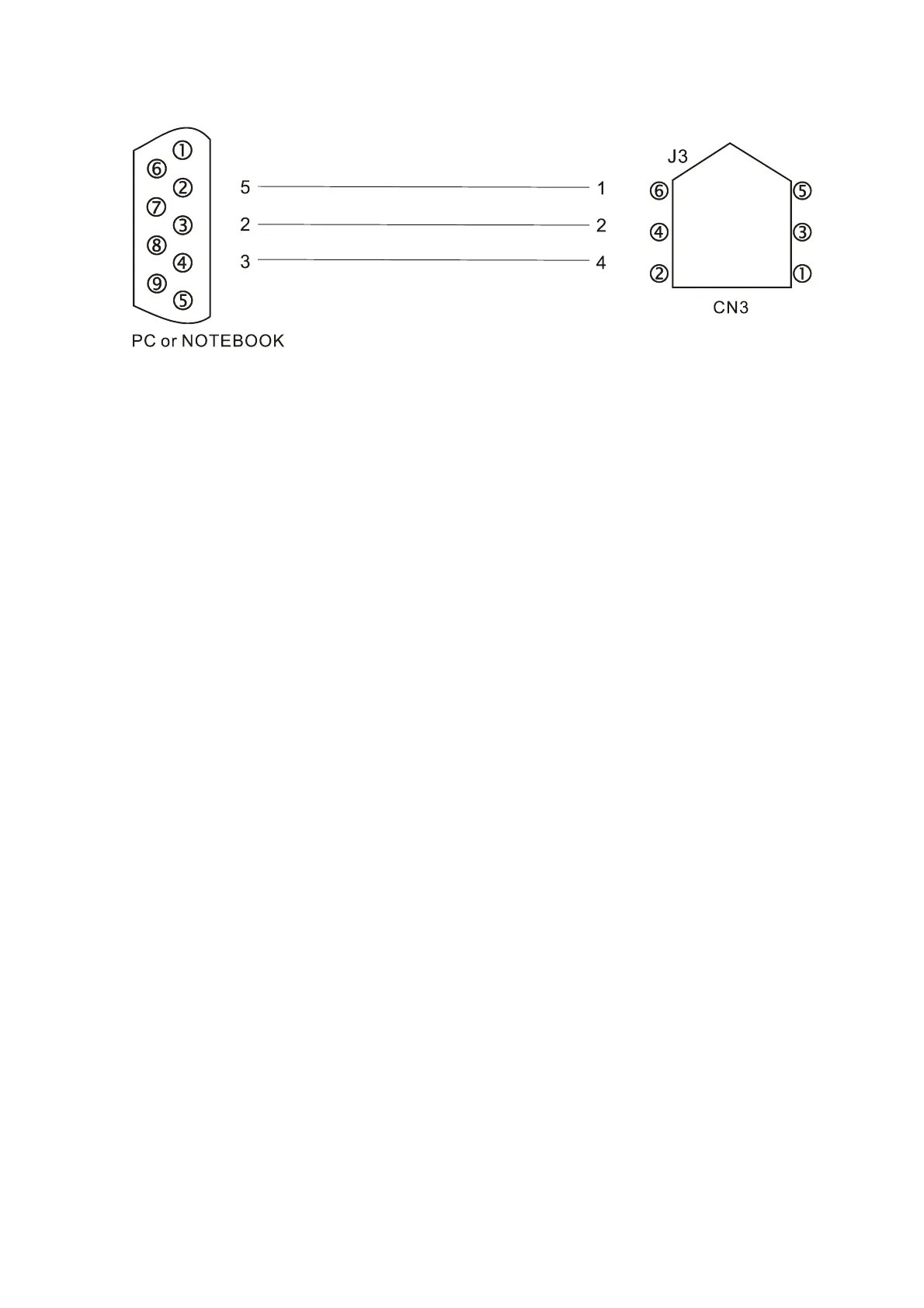
Delta ASD-A2R-1B43 Series - Connection between CN3 Connector and Personal Computer

Delta ASD-A2R-1B43 Series
660 pages
To Next Page IconTo Next Page
To Next Page IconTo Next Page
To Previous Page IconTo Previous Page
To Previous Page IconTo Previous Page
Loading...
Chapter 3 Wiring ASDA-A2R Series
Revision December, 2014
3-47
3.5.2 Connection between CN3 Connector and Personal Computer

Table of Contents

Related product manuals