EasyManua.ls Logo

Delta EtherCAT CMM-EC03 - Introduction to Ethercat; Protocol

Delta EtherCAT CMM-EC03
64 pages
Print Icon
To Next Page IconTo Next Page
To Next Page IconTo Next Page
To Previous Page IconTo Previous Page
To Previous Page IconTo Previous Page
Loading...
EtherCAT Communication Card: CMM-EC02/ CMM-EC03
CMM-EC02/ CMM-EC03 Operation Manual
18
3. Introduction to EtherCAT
3.1 Protocol
EtherCAT (Ethernet for Control Automation Technology) was created by a German company Beckhoff
based on the Ethernet communication protocol which is applicable on the industrial automation and
industrial open, real-time, on-site fieldbus technology. The EtherCAT Technology Group (ETG) currently
supports and promotes future development of this technology
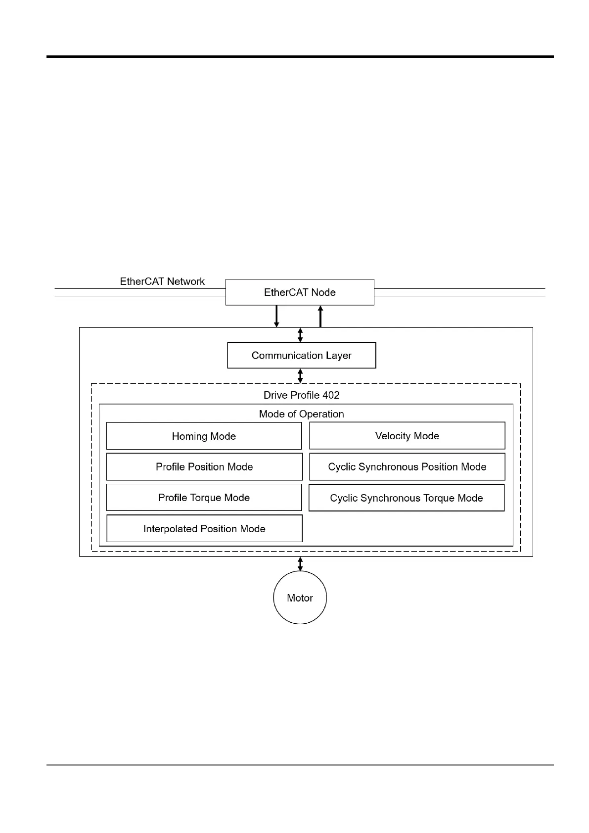
The Ethernet structure of a motor drive is shown in the image below.
1. Communication layer: This protocol covers communication objects such as PDO, SDO, Sync and
Emergency Objects. It also covers related communication object dictionary.
2. DS402 is the motion control layer (Drives and motion control device profile) It defines the action of
different motions and the parameter setting of the objects when

Table of Contents