EasyManua.ls Logo

Despatch MIC 1422 - Page 17

Despatch MIC 1422
91 pages
Print Icon
To Next Page IconTo Next Page
To Next Page IconTo Next Page
To Previous Page IconTo Previous Page
To Previous Page IconTo Previous Page
Loading...
13
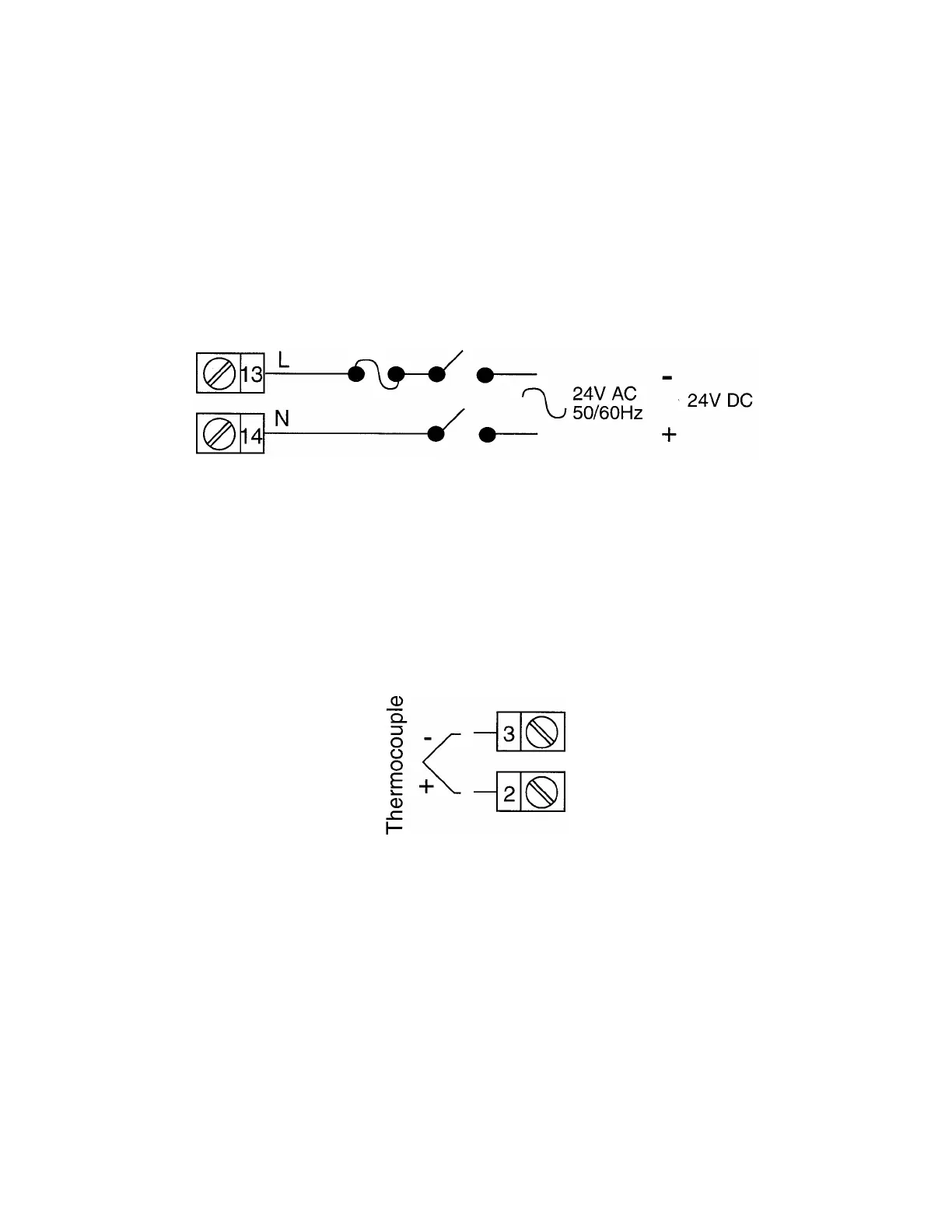
FIGURE 2-7A
24V Nominal AC/DC Supply
The supply connection for the 24V AC/DC option of the instrument are as shown below.
Power should be connected via a two pole isolating switch and a 315 mA slow-blow
(anti-surge type T) fuse. With the 24V AC/DC supply option fitted, these terminals will
accept the following supply voltage ranges:
24V (nominal) AC 50/60 Hz - 20 - 50 V
24V (nominal) DC - 22 - 65 V
FIGURE 2-8
Thermocouple (T/C) Input
Make thermocouple connections as illustrated below. Connect the positive
leg of the thermocouple to terminal 2 and the negative leg to terminal 3.
Note: Thermocouple must not be grounded! Damage to the cold junction in the
control will result!

Table of Contents

Related product manuals