EasyManua.ls Logo

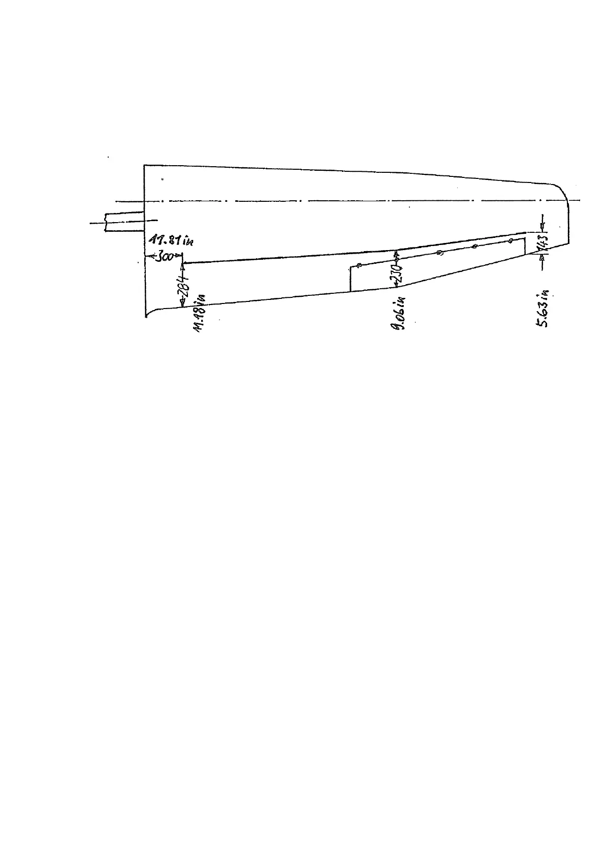
DG Flugzeugbau LS4 - Turbulator on Lower Wing Surface

Default Icon
120 pages
Print Icon
To Next Page IconTo Next Page
To Next Page IconTo Next Page
To Previous Page IconTo Previous Page
To Previous Page IconTo Previous Page
Loading...
Maintenance Manual LS4
Issued: May 2011
Copyright DG Flugzeugbau GmbH - any copy or publishing prohibited
Manual valid with the up-to-date cover page only
4-8
4.2.5 Turbulator on lower wing surface
90° zig-zag tape (approx. 0,4 mm <0.016 in.> thick and 12 mm <0.47 in.>
wide) is used.
Given measurements are from leading edge of turbulator to wing trailing
edge in mm and inches.

Table of Contents

Related product manuals