EasyManua.ls Logo

Digigram PCX22v2 - Appendices; Diagrams and Layouts

Digigram PCX22v2
30 pages
Print Icon
To Next Page IconTo Next Page
To Next Page IconTo Next Page
To Previous Page IconTo Previous Page
To Previous Page IconTo Previous Page
Loading...
D i g i g r a m
APPENDICES
SCHEMATIC DIAGRAM PCX924-Mic
SCHEMATIC DIAGRAM PCX924
v2
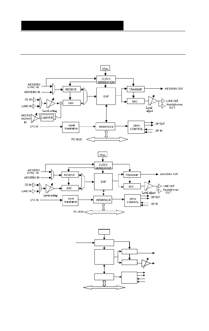
SCHEMATIC DIAGRAM PCX22
v2
PCI BUS
AES/EBU
SYNC IN
DAC
ANALOG OUT
Level adjust
TRANSMIT
AES/EBU OUT
CLOCK
GENERATION
DSP
INTERFACE
XTAL
GPIO
CONTROL
GP OUT
GP IN
18

Table of Contents

Related product manuals