EasyManua.ls Logo

Digigram PCX22v2 - DIGITAL CABLE with Gpios (PCX924-MIC & PCX924 V2 ); DIGITAL CABLE Without Gpios (PCX924-MIC & PCX924 V2 )

Digigram PCX22v2
30 pages
Print Icon
To Next Page IconTo Next Page
To Next Page IconTo Next Page
To Previous Page IconTo Previous Page
To Previous Page IconTo Previous Page
Loading...
PCX924
v2
, PCX924-Mic & PCX22
v2
User’s Manual
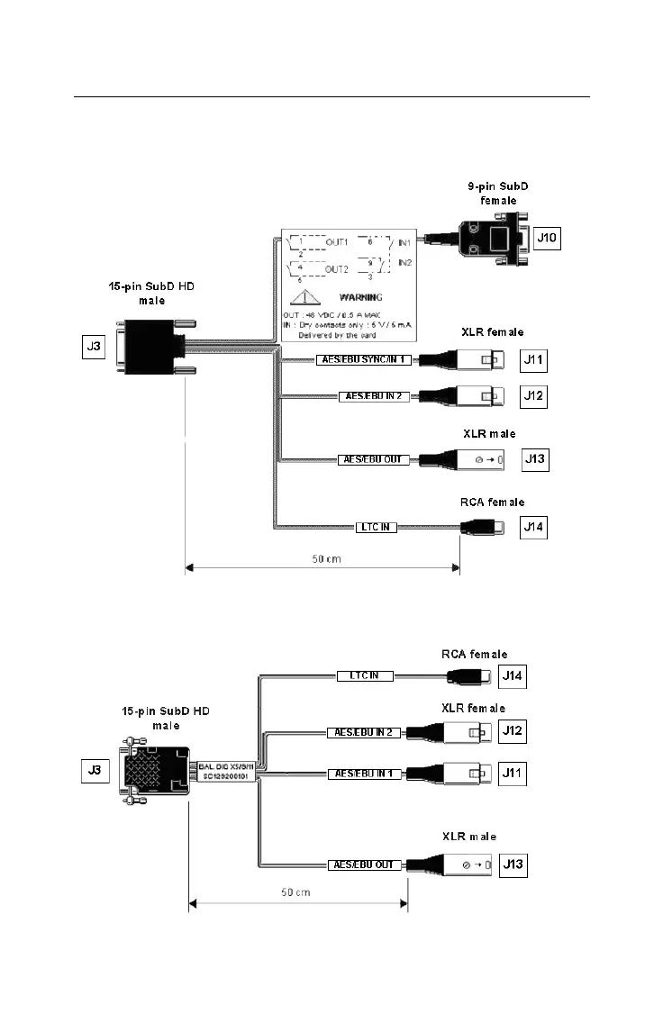
DIGITAL CABLE with GPIOs (PCX924-Mic & PCX924
v2
)
Schematic diagram of the cable delivered by Digigram*:
DIGITAL CABLE without GPIOs (PCX924-Mic & PCX924
v2
)
Schematic diagram of the cable delivered by Digigram*:
* Your cable may look different if it is not a Digigram cable.
23

Table of Contents

Related product manuals