EasyManua.ls Logo

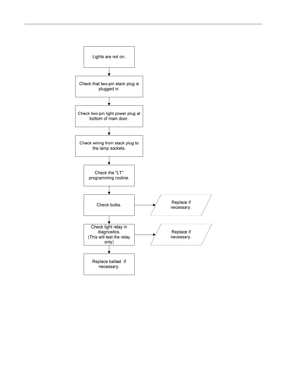
Dixie Narco P Series - Lights Are Not on

Dixie Narco P Series
81 pages
Print Icon
To Next Page IconTo Next Page
To Next Page IconTo Next Page
To Previous Page IconTo Previous Page
To Previous Page IconTo Previous Page
Loading...
TROUBLESHOOTING FLOWCHARTS P-SERIES
Page 42 of 78
LIGHTS ARE NOT ON

Table of Contents

Other manuals for Dixie Narco P Series

Related product manuals