EasyManua.ls Logo

DoAll DC-330NC - Lubrication Diagrams

Default Icon
39 pages
Print Icon
To Next Page IconTo Next Page
To Next Page IconTo Next Page
To Previous Page IconTo Previous Page
To Previous Page IconTo Previous Page
Loading...
25
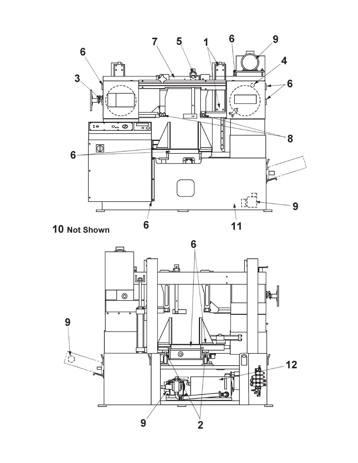
LUBRICATION DIAGRAMS
FRONT VIEW
REAR VIEW