EasyManua.ls Logo

DOMUSA Evolution EV AC - 23.4 Primary Air Adjustment; 23.5 Combustion Line Adjustment; 23.6 Correct Position of Electrodes

Default Icon
40 pages
Print Icon
To Next Page IconTo Next Page
To Next Page IconTo Next Page
To Previous Page IconTo Previous Page
To Previous Page IconTo Previous Page
Loading...
Evolution EV AC
28
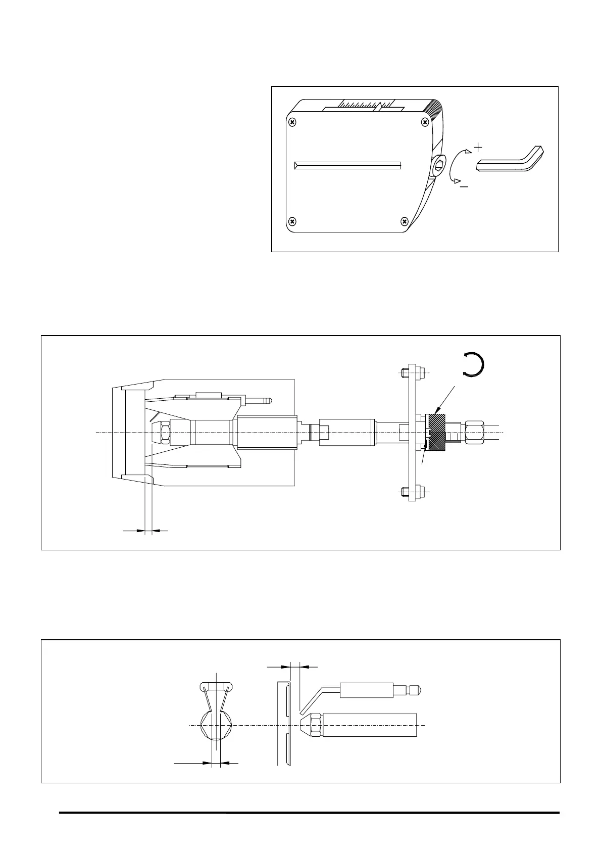
23.4 Primary air adjustment
To adjust the primary combustion air,
turn the screw using a 6 mm. Allen key,
as shown in the diagram. Turn it
clockwise to increase the airflow, and
anticlockwise to decrease it.
23.5 Combustion line adjustment
To adjust the combustion line, loosen the combustion line blocking screw "BL". Turn the line
regulator "RL" clockwise to increase the airflow and anticlockwise to decrease it. After adjustment,
tighten the combustion line blocking screw "BL".
BL
RL
+
-
3 mm
0
1
23.6 Correct position of electrodes
To ensure correct ignition of the “Domestic” burner, the measurements shown in the diagram must
be observed. Also ensure the electrode fixing screws have been screwed in place before replacing
the flame tube.
2/3 mm
3 mm
10
0

Table of Contents

Related product manuals