EasyManua.ls Logo

DRESSTA TD-25M EXTRA - Page 439

Default Icon
595 pages
Print Icon
To Next Page IconTo Next Page
To Next Page IconTo Next Page
To Previous Page IconTo Previous Page
To Previous Page IconTo Previous Page
Loading...
CYLINDERS SECTION 10C
Page 23
DRESSTA TD-25M EXTRA
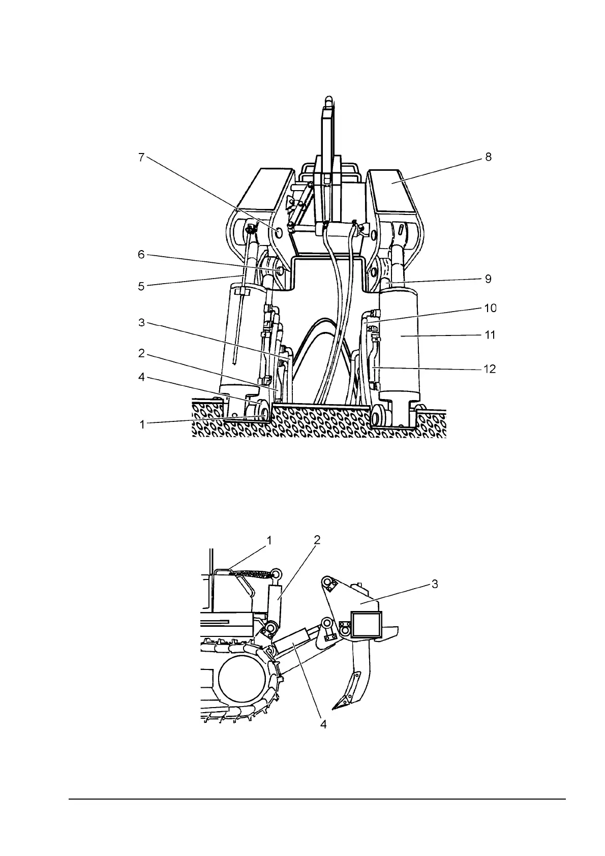
RIPPER LIFT AND PITCH CYLINDERS
Fig. 10C.34. Ripper Lift Cylinder or Pitch Cylinder Removal
1. Pin
2. Head End Tube
3. Rod End Hose
4. Frame
5. Indicator Rod
6. Pin
7. Pin
8. Toolbeam
9. Lift Cylinder
10. Rod End Hose
11. Pitch Cylinder
12. Head End Tube
Fig. 10C.35. Ripper Lift Cylinder Removal
1. Fuel Tank Holder
2. Ripper Pitch Cylinder
3. Ripper
4. Ripper Lift Cylinder

Table of Contents