EasyManua.ls Logo

Dunham-Bush ACDS - 4.9 Wiring Schematics (ACDS 080, 090)

Dunham-Bush ACDS
93 pages
Print Icon
To Next Page IconTo Next Page
To Next Page IconTo Next Page
To Previous Page IconTo Previous Page
To Previous Page IconTo Previous Page
Loading...
- 64 -
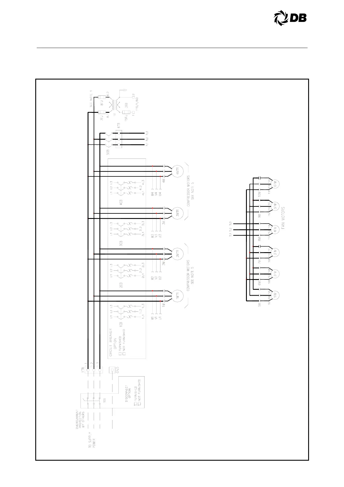
4.0 ELECTRICAL
ACDS 080, 90

Table of Contents

Related product manuals