EasyManua.ls Logo

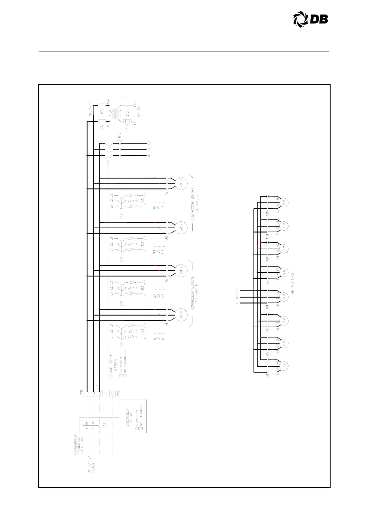
Dunham-Bush ACDS - 4.9 Wiring Schematic (ACDS 120)

Dunham-Bush ACDS
93 pages
Print Icon
To Next Page IconTo Next Page
To Next Page IconTo Next Page
To Previous Page IconTo Previous Page
To Previous Page IconTo Previous Page
Loading...
- 72 -
4.0 ELECTRICAL
ACDS 120

Table of Contents

Related product manuals