EasyManua.ls Logo

Edwards iF1800

Edwards iF1800
126 pages
To Next Page IconTo Next Page
To Next Page IconTo Next Page
To Previous Page IconTo Previous Page
To Previous Page IconTo Previous Page
Loading...
A533-23-880 Issue C
Page 52 © Edwards Limited 2009. All rights reserved.
Edwards and the Edwards logo are trademarks of Edwards Limited.
Pump display terminal menus and display formats
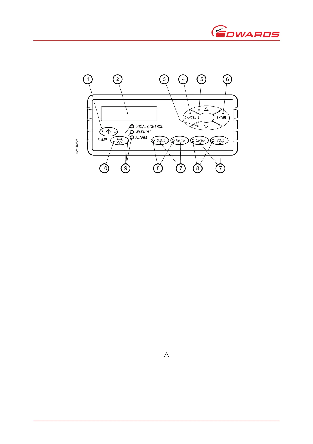
Figure 21 - Front control of the Pump Display Terminal
4.3 The CANCEL button
You can press the CANCEL button at any time during menu operation. For this reason, we have not shown the use of
the CANCEL button on all of the menu diagrams, but we have shown specific uses where there is no other obvious
way to cancel the current menu option and enter the previous menu option. In general, when you press the CANCEL
button, the current menu option is cancelled and the previous menu option is displayed.
Other specific uses of the CANCEL button are as follows:
In the Switch On and Switch Off menus (Figures 22 and 23), when you press CANCEL, the menu is exited and
the normal display is shown.
In the Status menu (Figures 25 and 26), when you press CANCEL the display shows the first two status
parameters (the defaults are FDP current consumption and power consumption).
When you change passwords in the Setup and Service menus (Figures 34 and 35) and before you press the
ENTER button, if you press CANCEL, the menu moves back to entry of the first digit of the password or serial
number.
4.4 Display text and variable text
In the menu diagrams in Figures 21 to 45, text shown without chevron brackets in the two-line display symbol is the
actual text that will be shown on the display. In this text, the ' ' symbol is used to show where a digit will be shown;
the value of the digit depends on the sensor data or information you enter into the Pump Display Terminal.
Text enclosed in chevron brackets (for example, <status>) defines variable text; what is shown on the display
depends on the menu or the status of the iF system and data entered by the user. The following variable text markers
are used on the menu diagrams:
<status>
This specifies the status of a sensor in the iF (a Water Flow-Switch). <Status> can be any of the following:
1. On button
2. Display
3. Down button
4. CANCEL button
5. Up button
6. ENTER button
7. Menu buttons
8. Menu selected LED’s
9. Status LED’s
10.Off button

Table of Contents

Related product manuals