EasyManua.ls Logo

EKOM DK50 DS - Page 39

EKOM DK50 DS
42 pages
Print Icon
To Next Page IconTo Next Page
To Next Page IconTo Next Page
To Previous Page IconTo Previous Page
To Previous Page IconTo Previous Page
Loading...
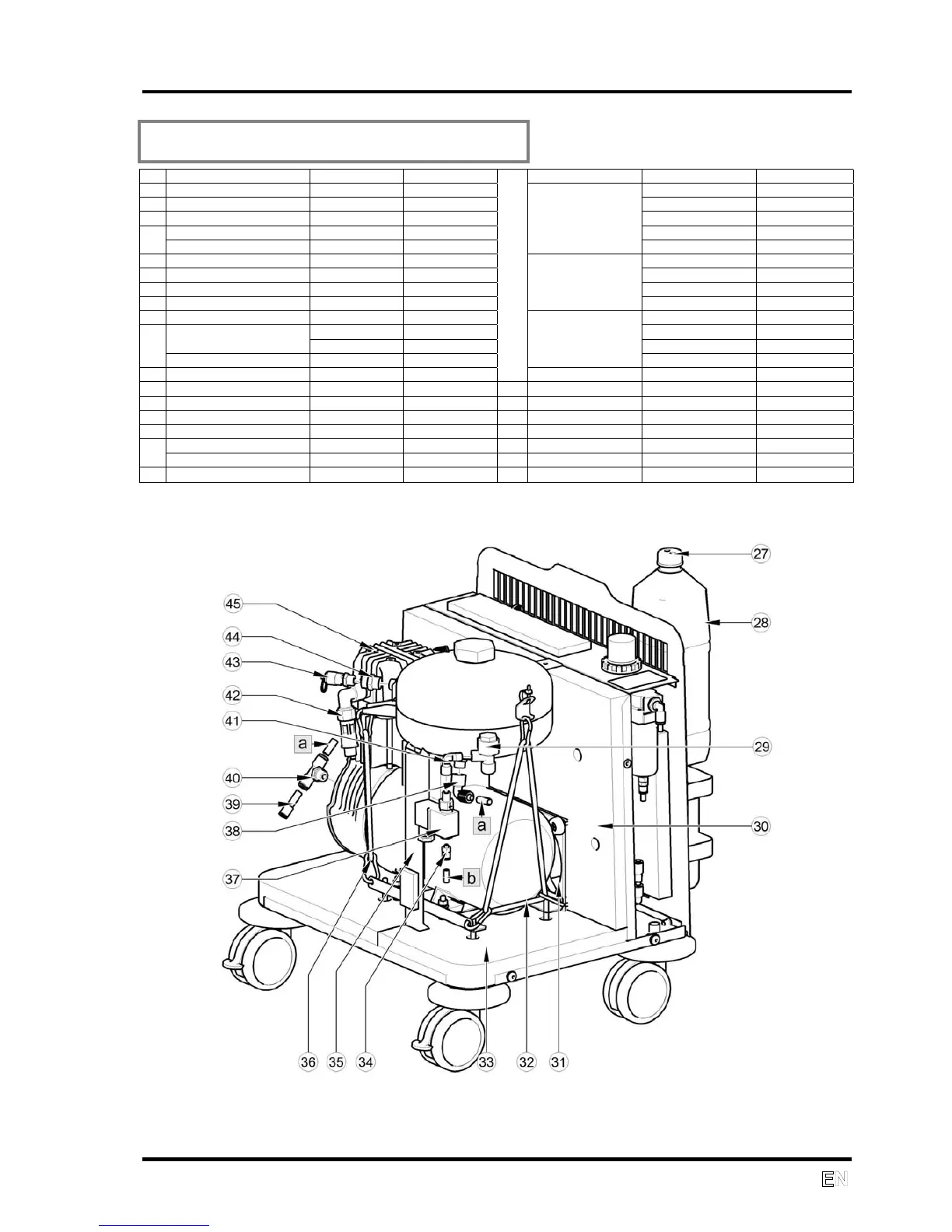
LIST OF SPARE PARTS
SM-DK50 DS-EN-20_02-2016 35
Compressor DK50 DS
27 Bottle cap 4KB-956 062000350-000 45 Air pump compl.
28 Bottle LUH-1 062000333-000 Model basic 230V/50Hz 603011741-000
29 Check valve 3/8" MF 025300026-000 230V/60Hz 603011825-000
30 Foam 061000285-000 115V/60Hz 603011826-000
31 Fan 230V/50-60Hz 035300006-000 100V/50-60Hz 603011827-000
115V/60Hz 035300005-000 120/60Hz UL 603012084-000
32 Hanger 4BA-779 604011779-000 Model standard 230V/50Hz 603011918-000
33 Foam 061000284-000 230V/60Hz 603011741-000
34 Screwing 025500161-000 115V/60Hz 603011959-000
35 Frame 3DA-099 603031099-000 100V/50-60Hz 603011956-000
36 Hanger 4BA-947 604011947-000 Model advanced 230V/50Hz 603011883-000
37 Solenoid valve compl. 230V 603011740-000 230V/60Hz 603012258-000
115V,100 V 603011828-000 115V/60Hz 603011957-000
100V/50-60Hz 603011958-000
38 Angular screwing 025500238-000
39 Reduction 025400163-000
40 Fiting T 8-1/4 025400231-000
41 Fiting L G1/8 M/F 025400020-000
42 Hose D8x400 072000009-000 a Hose PA 8/6 blue 072000048-000
43 Safety valve 025300058-000 b Hose PA 6/4 neutral 072000026-000
Safety valve UL 025300069-000 c Hose PU 6x4x1 black 072000030-000
44 Insertion
024000947-00
0

Other manuals for EKOM DK50 DS

Related product manuals