EasyManua.ls Logo

Electro-Voice TG5 - Installation and Setup; Front Panel Controls and Indicators

Electro-Voice TG5
148 pages
Print Icon
To Next Page IconTo Next Page
To Next Page IconTo Next Page
To Previous Page IconTo Previous Page
To Previous Page IconTo Previous Page
Loading...
TOUR GRADE SERIES
Owner’s Manual 7
2 Installation
2.1 Controls, Indicators and Connections
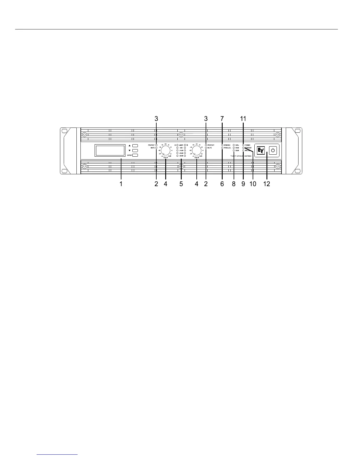
Front View
Illustration 2.1: TG-5/TG-7 front view
1
LC-Display (with controls)
2
Muting Indicator (MUTE) for channels A and B
3
Protections Indicator (PROTECT) for channels A and B
4
Input Level Control (CH A, CH B) for channels A and B
5
Level Indicators for channels A and B
6
Audio Input Mode Indicator (PARALLEL)
7
Power Amplifier Mode Indicator (BRIDGED)
8
Input Sensitivity/Gain Indicator (0dBu, 35dB, 32dB)
9
Remote Amplifier Indicator (IRIS-Net)
10
Standby Indicator (STANDBY)
11
Power On/Off Indicator (POWER)
12
Mains Switch

Table of Contents

Other manuals for Electro-Voice TG5

Related product manuals