EasyManua.ls Logo

Electro-Voice TG5 - Installation; Bedienelemente, Anzeigen und Anschlüsse

Electro-Voice TG5
148 pages
Print Icon
To Next Page IconTo Next Page
To Next Page IconTo Next Page
To Previous Page IconTo Previous Page
To Previous Page IconTo Previous Page
Loading...
TOUR GRADE SERIES
52 Bedienungsanleitung
2 Installation
2.1 Bedienelemente, Anzeigen und Anschlüsse
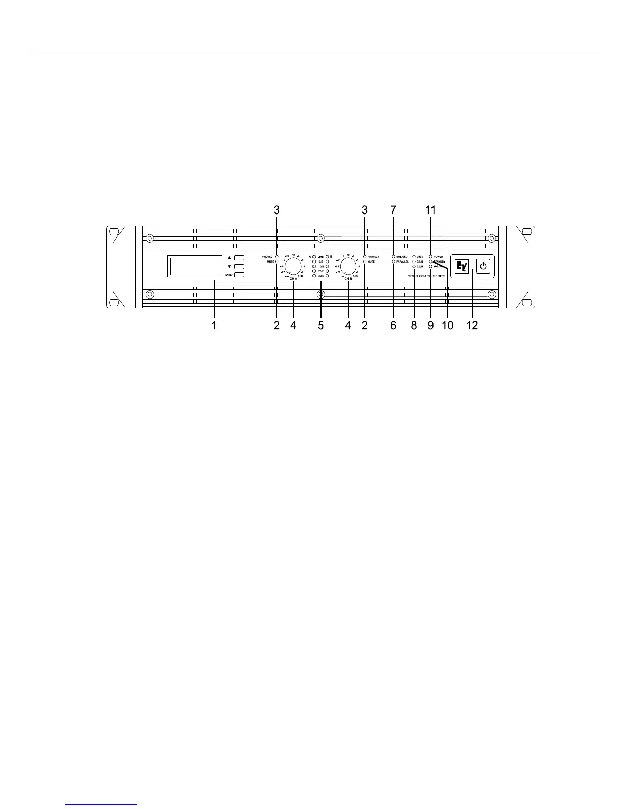
Frontseite
Abbildung 2.1: TG-5/TG-7 Frontseite
1
LC-Display (mit Bedienelementen)
2
Anzeige Stummschaltung (MUTE) für Kanal A bzw. B
3
Anzeige Schutzschaltung (PROTECT) für Kanal A bzw. B
4
Eingangspegel-Regler (CH A, CH B) für Kanal A bzw. B
5
Pegelanzeige für Kanal A bzw. B
6
Anzeige Betriebsart Audio-Eingang (PARALLEL)
7
Anzeige Betriebsart Leistungsverstärker (BRIDGED)
8
Anzeige Eingangsempfindlichkeit/Gain (0dBu, 35dB, 32dB)
9
Anzeige Remote Amplifier (IRIS-Net)
10
Anzeige Standby (STANDBY)
11
Anzeige Betrieb (POWER)
12
Netzschalter

Table of Contents

Other manuals for Electro-Voice TG5

Related product manuals