EasyManua.ls Logo

ELNA eXperience 660 - Using the Fine Adjustment Screw

ELNA eXperience 660
52 pages
Print Icon
To Next Page IconTo Next Page
To Next Page IconTo Next Page
To Previous Page IconTo Previous Page
To Previous Page IconTo Previous Page
Loading...
19
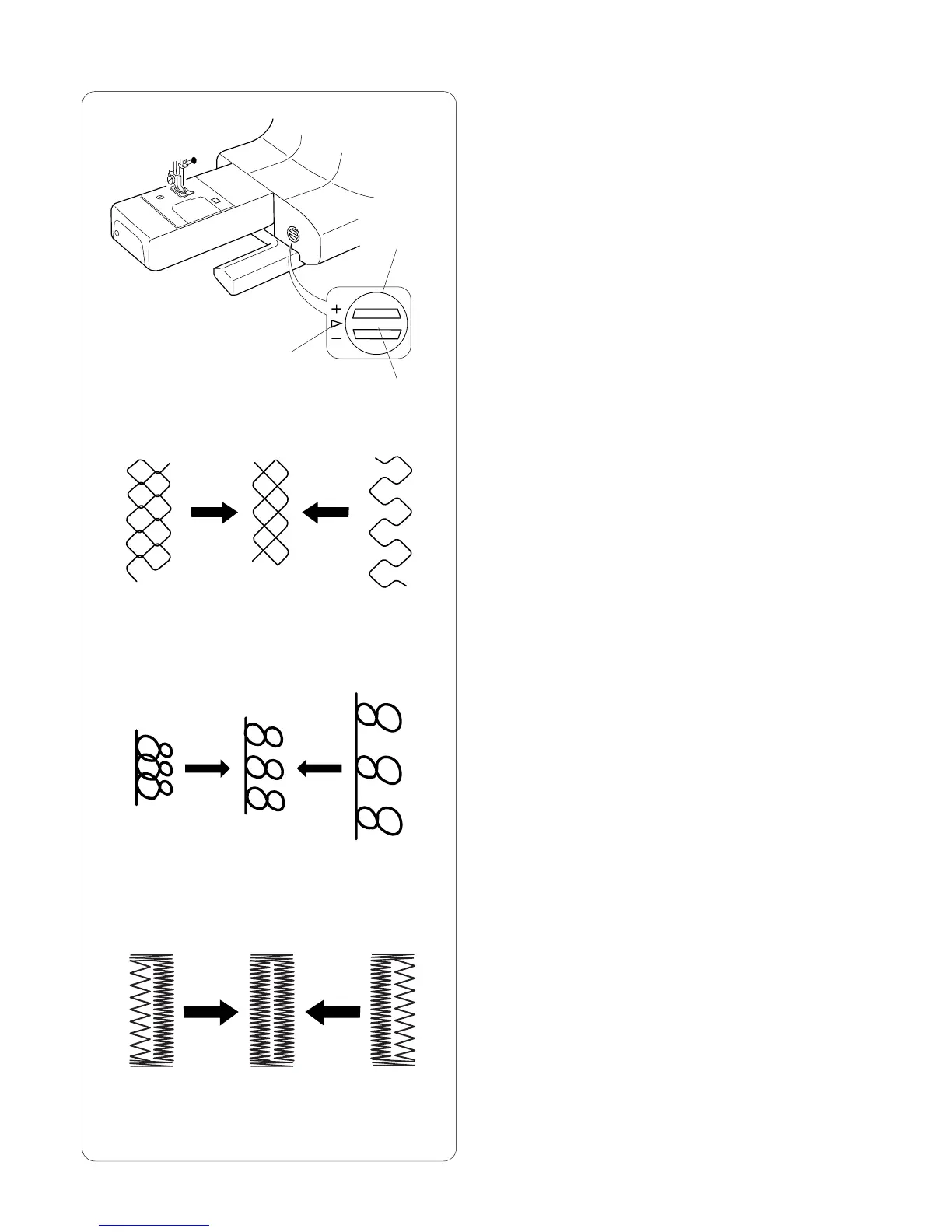
Using the Fine Adjustment Screw
Choice of fabrics and threads may affect the stitch
formation. The fine adjustment screw can be used to
either lengthen or shorten the stitch.
q Fine adjustment screw
w Standard mark
e Setting mark
To fine tune, use a screwdriver to move the setting mark.
If stitches are too short r, correct by turning the
screw in the direction of “+”.
If stitches are too long t, correct by turning the screw
in the direction of “–”.
If letters/numbers are overlapped y, correct by
turning the screw in the direction of “+”.
If letter/numbers are too spread out u, correct by
turning the screw in the direction of “–”.
For buttonholes, always make the adjustment according
to the left side.
If left side of buttonhole is less dense (too open) i
compared to right side, correct by turning screw in
direction of “+”.
If left side of buttonhole is more dense (too closed) o
compared to right side, correct by turning screw in
direction of “–”
q
w
e
r
t
y
u
i
o
(+)
(–)
(+) (–)
(+)
(–)

Table of Contents

Other manuals for ELNA eXperience 660

Related product manuals